Запчасти John Deere 90D 13 - STARTING MOTOR - CONTINUED 422 - ENGINE 4

Схема запчастей John Deere 90D - 13 - STARTING MOTOR - CONTINUED 422 - ENGINE 4
FIT
1:1
100%

Артикул

Название

Примечание

Количество

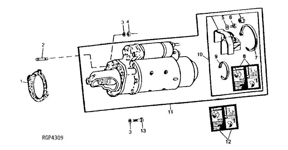
1

RE39251

NEEDLE BEARING

2шт.

2

R50902

SNAP RING

(SUB FOR R100531)

1шт.

3

RE39249

CLUTCH

1шт.

4

R50901

WASHER

(SUB FOR R100510)

1шт.

5

R100513

COVER

1шт.

6

RE45331

SOLENOID

(SUB FOR RE39242)

1шт.

7

R100511

O-RING

1шт.

8

R100509

BUSHING

1шт.

9

RE39244

FIELD WINDING COIL

1шт.

10

RE39246

ARMATURE

1шт.

11

RE39250

CARBON BRUSH HOLDER

1шт.

12

R100512

O-RING

1шт.

13

R100508

SCREW

1шт.

14

RE39248

BRUSH

4шт.

Выбрано товаров: 14