Запчасти John Deere 90D 6 - FAN BELT TIGHTENER 429 - ENGINE 4

Схема запчастей John Deere 90D - 6 - FAN BELT TIGHTENER 429 - ENGINE 4
FIT
1:1
100%

Артикул

Название

Примечание

Количество

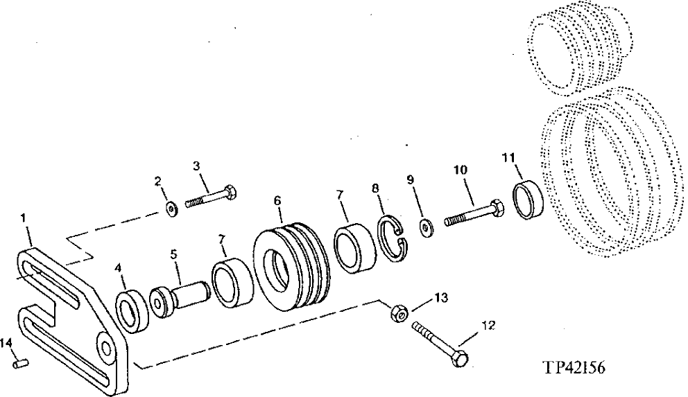
1

R70375

BRACKET

1шт.

2

24M7296

WASHER

10.500 X 30 X 2.500 MM

2шт.

3

19H3239

CAP SCREW

3/8" X 1-1/4"

2шт.

4

AR92593

SEAL

1шт.

5

T80509

HUB

1шт.

6

T105391

PULLEY

(SUB FOR T80508)

1шт.

7

JD8670

BALL BEARING

2шт.

8

R55408

WEAR RING

1шт.

9

24M7226

WASHER

13 X 35 X 5 MM

1шт.

10

19H3206

CAP SCREW

7/16" X 3-1/4"

1шт.

11

R66077

PLUG

1шт.

12

U45045

CAP SCREW

1шт.

13

14H971

NUT

1/2"

1шт.

14

34H349

SPRING PIN

3/8" X 1-1/4"

1шт.

Выбрано товаров: 0