Запчасти John Deere 90D 4 - RADIATOR, OIL COOLER AND SHROUD 510 - ENGINE AUXILIARY SYSTEM 5

Схема запчастей John Deere 90D - 4 - RADIATOR, OIL COOLER AND SHROUD 510 - ENGINE AUXILIARY SYSTEM 5
FIT
1:1
100%

Артикул

Название

Примечание

Количество

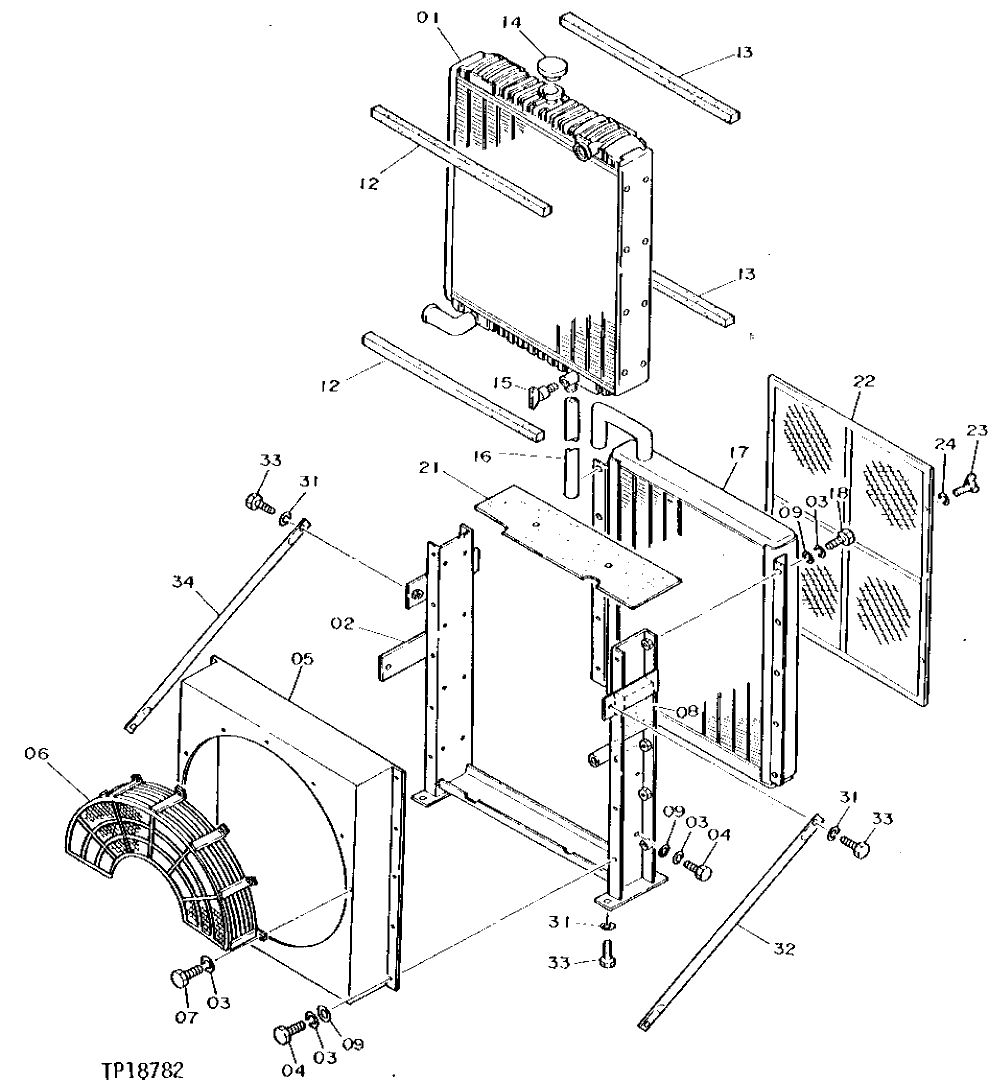
1

4208623

RADIATOR

(SUB FOR TH109417)

1шт.

2

4208624

FRAME

(SUB FOR TH109418)

1шт.

3

12M7056

LOCK WASHER

8 MM, (SUB FOR 12M7065)

40шт.

4

19M7881

SCREW

M8 X 20

26шт.

5

4208626

SHROUD

(SUB FOR TH109419)

1шт.

6

4208625

GUARD

(SUB FOR TH109420)

1шт.

7

19M7932

CAP SCREW

M8 X 16

4шт.

8

4208627

PACKING

(SUB FOR TH109421)

2шт.

9

24M7055

WASHER

8.400 X 16 X 1.600 MM

36шт.

12

4206925

PACKING

(SUB FOR TH109422)

2шт.

13

4206924

PACKING

(SUB FOR TH109423)

2шт.

14

CAP

(SUB AT169085) (SUB FOR TH109424, TH108224, TH111864 OR TH111015)

1шт.

AT169085

FILLER CAP

(SUB FOR TH111864)

1шт.

15

4148705

DRAIN PLUG

(SUB FOR TH109425)

1шт.

16

HOSE

( TH110139 OR TH101764 NO LONGER AVAILABLE) (MAKE FROM 1/2 INCH VILYL TUBING CUT TO LENGTH)

1шт.

17

4208628

OIL COOLER

(SUB FOR TH109426)

1шт.

18

19M7881

SCREW

M8 X 20

10шт.

21

4206923

PACKING

(SUB FOR TH109427)

1шт.

22

4206929

SCREEN

(SUB FOR TH109428)

1шт.

23

21M1689

WING SCREW

M6 X 12, (SUB FOR TH108237)

4шт.

24

24M7054

WASHER

6.400 X 12 X 1.600 MM, (SUB FOR TH108236)

4шт.

31

12H294

LOCK WASHER

5/8"

8шт.

32

4204783

SUPPORT

(SUB FOR TH109429)

1шт.

33

19M8035

CAP SCREW

M16 X 35

8шт.

34

4204784

SUPPORT

(SUB FOR TH109430)

1шт.

Выбрано товаров: 0