Запчасти John Deere 90D 2 - ELECTRICAL PARTS 1674 - ELECTRICAL SYSTEM 16

Схема запчастей John Deere 90D - 2 - ELECTRICAL PARTS 1674 - ELECTRICAL SYSTEM 16
FIT
1:1
100%

Артикул

Название

Примечание

Количество

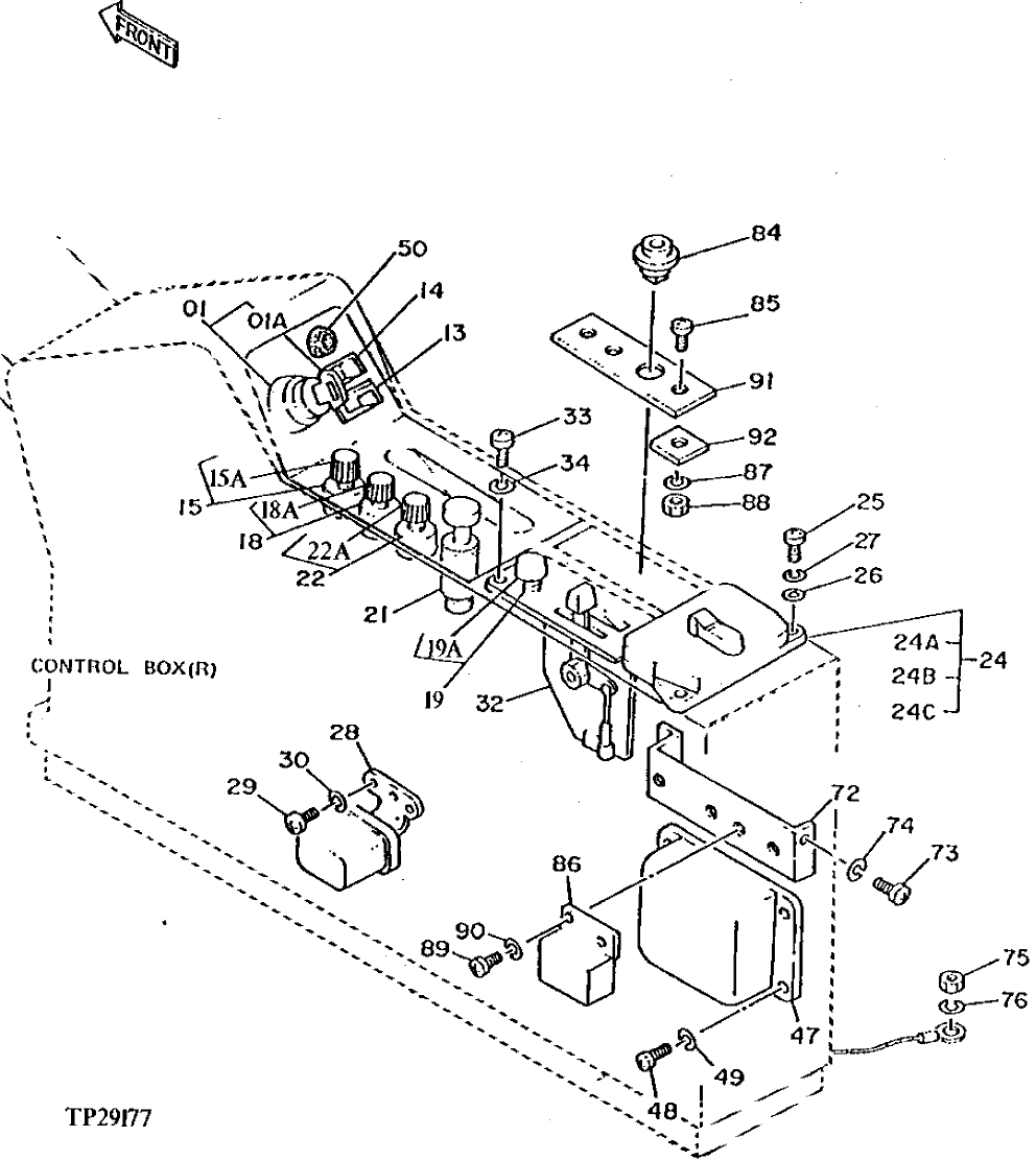
1

4237505

SWITCH

(SUB FOR TH108551 OR 4186744)

1шт.

1A

AT194969

KEY

(SUB FOR TH108552 AND AT147803) IGNITION SWITCH, CAB DOOR LOCK AND VANDAL COVER LOCK (H800)

1шт.

13

4187088

SWITCH

(SUB FOR TH108553) TRAVEL SPEED

1шт.

14

4187089

SWITCH

(SUB FOR TH108554) AUTOMATIC FUEL CONTROL

1шт.

15

4201802

SWITCH

(SUB FOR TH108555) MODE

1шт.

15A

4268742

KNOB

(SUB FOR AT130798)

1шт.

18

4184396

SWITCH

(SUB FOR TH108556) LIGHT

1шт.

18A

4268740

KNOB

(SUB FOR AT130799)

1шт.

19

4184397

SWITCH

(SUB FOR TH108557) BLOWER

1шт.

19A

4268750

KNOB

(SUB FOR AT130800)

1шт.

21

AR60937

ELECTRICAL LIGHTER

(SUB FOR TH108558) (ALSO ORDER AT78633, AT78634 AND AU42809)

1шт.

AT78633

HOUSING

(12 VOLT)

1шт.

AT78634

WIRING LEAD

(12 VOLT)

1шт.

AU42809

RESISTOR

(12 VOLT)

1шт.

ELECTRICAL LIGHTER

(SUB FOR AT190190) (24 VOLT) ( 4357862 NO LONGER AVAILABLE)

1шт.

22

4184398

SWITCH

(SUB FOR TH108559) WIPER

1шт.

22A

4268741

KNOB

(SUB FOR AT130801)

1шт.

24

4205437

FUSE BOX

(SUB FOR TH108560)

1шт.

24A

AT58169

FUSE

(SUB FOR TH108561) (1A)

3шт.

24B

AT28077

FUSE

(SUB FOR TH108562) (10A)

9шт.

24C

AT39227

FUSE

(SUB FOR TH104047) (15A)

5шт.

25

21M7277

SCREW

M6 X 25, (SUB FOR TH108567)

2шт.

26

24M7054

WASHER

6.400 X 12 X 1.600 MM, (SUB FOR TH100584)

2шт.

27

12M7006

LOCK WASHER

6 MM, (SUB FOR TH103470)

2шт.

28

4505392

RELAY

(SUB FOR TH100585) HORN

1шт.

29

21M7288

SCREW

M6 X 10, (SUB FOR TH100547)

2шт.

30

12M7006

LOCK WASHER

6 MM

2шт.

32

4456566

CONTROL

HEATER, (SUB FOR 4189169, ALSO ORDER 4248908)

1шт.

4248908

CABLE

(SUB FOR AT194604)

1шт.

33

21M7396

SCREW

4шт.

34

12H315

LOCK WASHER

4.166 MM, (SUB FOR 12M7063)

4шт.

47

9067007

CONTROL

(SUB FOR TH108566)

1шт.

48

21M7288

SCREW

M6 X 10, (SUB FOR TH100547)

4шт.

49

12M7006

LOCK WASHER

6 MM

4шт.

50

4146754

ISOLATOR

(SUB FOR TH100572)

1шт.

72

4200514

BRACKET

(SUB FOR TH108574)

1шт.

73

21M7246

SCREW

M6 X 16

4шт.

74

12M7006

LOCK WASHER

6 MM

4шт.

75

14M7274

NUT

M10

1шт.

76

12M7066

LOCK WASHER

10 MM

1шт.

84

4155755

SWITCH

(SUB FOR TH101582) (ETHER START AID)

1шт.

85

21M7455

SCREW

(SUB FOR 21M7085)

2шт.

86

4205029

RELAY

(SUB FOR TH108573) LOAD DUMP

1шт.

87

12M7006

LOCK WASHER

6 MM

2шт.

88

14M7272

NUT

M6

2шт.

89

21M7288

SCREW

M6 X 10

1шт.

90

12M7006

LOCK WASHER

6 MM

1шт.

91

4200522

PLATE

(SUB FOR TH108564)

1шт.

92

4200521

PLATE

(SUB FOR TH108565)

2шт.

Выбрано товаров: 49