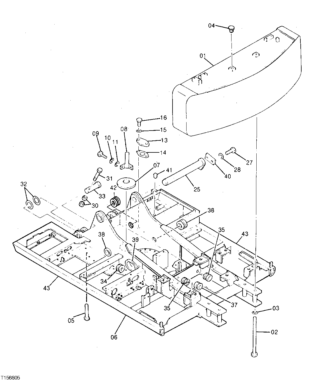
Запчасти John Deere 90D 2 - FRAME 1740 - FRAME, CHASSIS OR SUPPORTING STRUCTURE 17

Схема запчастей John Deere 90D - 2 - FRAME 1740 - FRAME, CHASSIS OR SUPPORTING STRUCTURE 17
FIT
1:1
100%

Артикул

Название

Примечание

Количество

1

COUNTERWEIGHT

(TH109392 - NO LONGER AVAILABLE)

1шт.

2

4228704

BOLT

M30 X 350, (SUB FOR TH110081) (SUB FOR TH111859)

4шт.

3

4174859P

WASHER

(SUB FOR TH103498 OR 4174859)

4шт.

4

4139583

CAP

(SUB FOR TH101721)

2шт.

5

J932203

BOLT

(SUB FOR TH110082)

30шт.

6

MAIN FRAME

(TH109393 - NO LONGER AVAILABLE)

1шт.

7

4176863

COVER

(SUB FOR T107046) (ROTARY MANIFOLD)

1шт.

8

8033211

STOP

(SUB FOR AT107243)

1шт.

9

19M6332

CAP SCREW

M14 X 35

2шт.

10

12H317

LOCK WASHER

14.288 MM (9/16")

2шт.

11

4114404

WASHER

15 X 36 X 4.500 MM (0.591" X 1.417" X 0.177") (SUB FOR TH108203) (SUB FOR AT130666)

2шт.

13

4013896

COVER

(SUB FOR TH100633)

1шт.

14

4157713

GASKET

(SUB FOR TH100632)

1шт.

15

24M7028

WASHER

10.500 X 20 X 2 MM (0.413" X 0.787" X 0.079")

2шт.

16

19M7402

CAP SCREW

M10 X 25, (SUB FOR 19M7938, THIS APPLICATION)

2шт.

25

AT155544

PIN

(SUB FOR TH109394) (BOOM TO MAIN FRAME)

1шт.

27

19M7950

CAP SCREW

M20 X 45

2шт.

28

12M7070

LOCK WASHER

20 MM (0.787")

2шт.

30

14M7277

NUT

M20

4шт.

31

19M8503

CAP SCREW

M20 X 160

2шт.

32

TH106307

WASHER

4шт.

33

TH109395

PIN FASTENER

90 X 230 MM (3.543" X 9.055")

2шт.

34

4201995

GROMMET

(SUB FOR TH109396)

1шт.

35

4200176

GROMMET

(SUB FOR TH109397)

2шт.

37

4201986

GROMMET

(SUB FOR TH109398)

1шт.

38

4191977

GROMMET

(SUB FOR TH109399)

2шт.

39

4191978

GROMMET

(SUB FOR TH109400)

1шт.

40

4199833

PLATE

(SUB FOR TH109401)

1шт.

41

99M7010

PLUG

(SUB FOR TH109402)

3шт.

42

4207423

GROMMET

(SUB FOR TH111986)

1шт.

4207423

GROMMET

(SUB FOR TH111986)

1шт.

4144511

WASHER

105 X 200 X 3.200 MM (4.134" X 7.874" X 0.126") (SUB FOR TH102421) (3.2 MM)

1шт.

4144512

WASHER

105 X 200 X 2.300 MM (4.134" X 7.874" X 0.091") (SUB FOR TH102422) (2.3 MM)

1шт.

4144513

WASHER

105 X 200 X 1.200 MM (4.134" X 7.874" X 0.047") (SUB FOR TH102423) (1.2 M)

1шт.

43

4455819

LINE

1шт.

Выбрано товаров: 35