Запчасти John Deere 90D 8 - SWING BEARING, UNDERCARRIAGE AND ROCK GUARDS 1740 - FRAME, CHASSIS OR SUPPORTING STRUCTURE 17

Схема запчастей John Deere 90D - 8 - SWING BEARING, UNDERCARRIAGE AND ROCK GUARDS 1740 - FRAME, CHASSIS OR SUPPORTING STRUCTURE 17
FIT
1:1
100%

Артикул

Название

Примечание

Количество

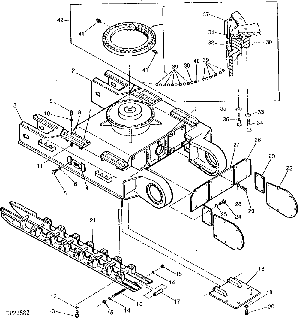
1

4D-13053-0

FRAME

(B) UNDERCARRIAGE

1шт.

2

4D-13485

FRAME

(B) R.H. TRACK

1шт.

3

4D-13485

FRAME

(B) L.H. TRACK

1шт.

4

4B-13521

COVER

(B) ACCESS, TAKE-UP

2шт.

5

19H2993

CAP SCREW

1/2" X 1-1/2"

4шт.

6

12H301

LOCK WASHER

1/2"

4шт.

7

4D-14226-3

GUIDE

(B)

4шт.

8

4D-14226-4

WEAR PLATE

(B)

4шт.

9

19H2599

CAP SCREW

5/8" X 2-1/2"

8шт.

10

12H294

LOCK WASHER

5/8"

8шт.

11

14H1039

NUT

5/8"

8шт.

12

12H236

LOCK WASHER

3/4"

40шт.

13

545059061

CAP SCREW

(B)

40шт.

14

12H234

LOCK WASHER

1"

36шт.

15

14H1048

NUT

1"

36шт.

16

4D-13050-9

STUD

(B)

18шт.

17

4D-13050-8

SPACER

(B)

18шт.

18

4D-13053-A

DOOR

(B)

1шт.

19

12H236

LOCK WASHER

3/4"

4шт.

20

19H2411

CAP SCREW

3/4" X 2-1/2"

4шт.

21

4D-13050-0

GUARD

(B) TRACK GUIDE

2шт.

22

4D-13549-5

SHIELD

(B) MOTOR

2шт.

23

4D-13052-6

SHIELD

(B) HYDRAULICS

2шт.

24

19H2710

CAP SCREW

5/8" X 1-3/4"

8шт.

25

12H294

LOCK WASHER

5/8"

8шт.

26

4D-13057-5

SHIELD

(B)

2шт.

27

4D-13057-6

SHIELD

(B)

1шт.

28

12H236

LOCK WASHER

3/4"

28шт.

29

19H3158

CAP SCREW

3/4" X 2"

28шт.

30

BEARING RACE

(SUB AT190769)

1шт.

31

T203958

SEAL

(SUB FOR T191211, TH102258 OR AT131732, TH103078 OR TH108166 AND AT131484) (ALSO ORDER TY21517 AND AT66866) (SUB FOR 4199645)

1шт.

TY21517

ADHESIVE

(NOT ILLUSTRATED)

ARшт.

AT66866

FLUID

(NOT ILLUSTRATED)

ARшт.

32

T203958

SEAL

(SUB FOR T191211, TH102259 OR AT131732, TH103078 OR TH108166 AND AT131484) (ALSO ORDER TY21517 AND AT66866) (SUB FOR 4199645)

1шт.

TY21517

ADHESIVE

(NOT ILLUSTRATED)

ARшт.

AT66866

FLUID

(NOT ILLUSTRATED)

ARшт.

33

12H245

LOCK WASHER

7/8", (SUB FOR 12H352)

30шт.

34

J932203

BOLT

(SUB FOR TH110082)

30шт.

35

12H245

LOCK WASHER

7/8", (SUB FOR 12H352)

36шт.

36

THM122275

BOLT

(SUB FOR TH102262)

36шт.

37

RING GEAR

(SUB AT190769)

1шт.

38

4355766

BALL

(SUB FOR TH102257 OR TH103076) (SUB FOR AT174890) (DISCARD UNUSED BALLS)

98шт.

39

4134900

SPACER

(SUB FOR TH102260)

75шт.

40

4134901

SPACER

(SUB FOR TH102261)

15шт.

41

TH100074

LUBRICATION FITTING

2шт.

42

9049241EX

ROLLER

(SUB FOR TH102256) (SUB FOR AT190769)

1шт.

Выбрано товаров: 46