Запчасти John Deere 90D 14 - CAB WINDOW 1810 - OPERATORS STATION 18

Схема запчастей John Deere 90D - 14 - CAB WINDOW 1810 - OPERATORS STATION 18
FIT
1:1
100%

Артикул

Название

Примечание

Количество

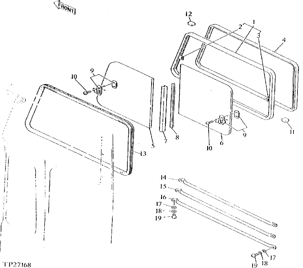
1

4208949

FRAME

(SUB FOR TH108731)

1шт.

2

CATCH

(SUB TH108731)

1шт.

3

CATCH

(SUB TH108731)

1шт.

4

4204635

RUNNER

(SUB FOR TH108733)

1шт.

5

TH108734

WINDOWPANE

1шт.

6

TH108735

WINDOWPANE

1шт.

7

4204638

FRAME

(SUB FOR TH108736)

1шт.

8

4231414

WEATHERSTRIP

(SUB FOR TH108737) (SUB FOR TH111881)

1шт.

9

4369653

LOCK

(SUB FOR TH106626, 4295610 AND 4141713)

2шт.

10

4219753

SCREW

(SUB FOR TH106627) (SUB FOR TH110774)

4шт.

11

4147896

SPACER

(SUB FOR TH108646)

9шт.

12

4204567

SPACER

(SUB FOR TH108647)

3шт.

13

4204585

MOLDING

(SUB FOR TH108667)

1шт.

14

4204568

GUARD

(SUB FOR TH108650)

1шт.

15

4204569

GUARD

(SUB FOR TH108651)

1шт.

16

4204570

GUARD

(SUB FOR TH108652)

1шт.

17

24M7055

WASHER

8.400 X 16 X 1.600 MM (0.331" X 0.630" X 0.063")

6шт.

18

12M7056

LOCK WASHER

8 MM (0.315") (SUB FOR 12M7065)

6шт.

19

21M7291

SCREW

M8 X 20

6шт.

25

4196647J

CAB

(SUB FOR AT114976 OR 4196647) (NOT ILLUSTRATED) (CONTAINS ALL ITEMS ON THIS PAGE - ADDITIONAL COMPONENTS LISTED ON PREVIOUS PAGES)

1шт.

Выбрано товаров: 20