Запчасти John Deere 90D 2 - SEAT AND SEAT SUPPORT 1821 - OPERATORS STATION 18

Схема запчастей John Deere 90D - 2 - SEAT AND SEAT SUPPORT 1821 - OPERATORS STATION 18
FIT
1:1
100%

Артикул

Название

Примечание

Количество

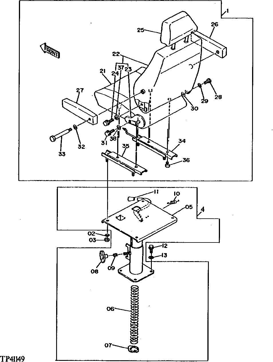
1

4230833

SEAT

(SUB FOR TH108739 AND AT126802) (SUB FOR TH112076)

1шт.

2

12M7056

LOCK WASHER

8 MM, (SUB FOR 12M7065)

4шт.

3

14M7273

NUT

M8

4шт.

4

4178550

STAND

(SUB FOR TH108740)

1шт.

5

PLATE

(SUB TH108740)

1шт.

6

4206087

SPRING

(SUB FOR TH108741)

1шт.

7

3039222

PLATE

(SUB FOR TH108742)

1шт.

8

3039223

KNOB

(SUB FOR TH108743)

1шт.

9

3039221

SPRING

(SUB FOR TH108744)

1шт.

10

3030268

EXTENSION SPRING

(SUB FOR TH101616)

1шт.

11

3030267

GRIP

(SUB FOR TH101615)

1шт.

12

19M7402

CAP SCREW

M10 X 25

4шт.

13

12M7066

LOCK WASHER

10 MM

4шт.

21

0368101

CUSHION

(SUB FOR AT126054)

1шт.

22

0368102

SEAT BACK

(SUB FOR AT126055)

1шт.

23

0340803

ADJUSTER

(SUB FOR TH111648)

1шт.

24

19M7402

CAP SCREW

M10 X 25, (SUB FOR TH104152, ALONG WITH 12M7066)

2шт.

25

0368103

HEAD RESTRAINT

(SUB FOR AT126056)

1шт.

26

0368104

ARM

(SUB FOR AT126057) (RIGHT)

1шт.

27

0368105

ARM

(SUB FOR AT126058) (LEFT)

1шт.

28

0262709

BOLT

(SUB FOR TH104153)

1шт.

29

0262710

WASHER

(SUB FOR TH104154)

1шт.

30

12M7056

LOCK WASHER

8 MM, (SUB FOR TH104155) (SUB FOR 12M7065)

1шт.

31

19M7402

CAP SCREW

M10 X 25, (SUB FOR TH104152, ALONG WITH 12M7066)

2шт.

32

0262710

WASHER

(SUB FOR TH104154)

2шт.

33

0340807

BOLT

(SUB FOR TH111652)

2шт.

34

0368106

ADJUSTER

(SUB FOR AT126059)

1шт.

35

0304003

ADJUSTER

(SUB FOR TH107001)

1шт.

36

0340808

SCREW

(SUB FOR TH111653)

4шт.

37

12M7066

LOCK WASHER

10 MM

2шт.

38

12M7066

LOCK WASHER

10 MM

2шт.

Выбрано товаров: 31