Запчасти John Deere 90D 22 - AIR CONDITIONER 1830 - OPERATORS STATION 18

Схема запчастей John Deere 90D - 22 - AIR CONDITIONER 1830 - OPERATORS STATION 18
FIT
1:1
100%

Артикул

Название

Примечание

Количество

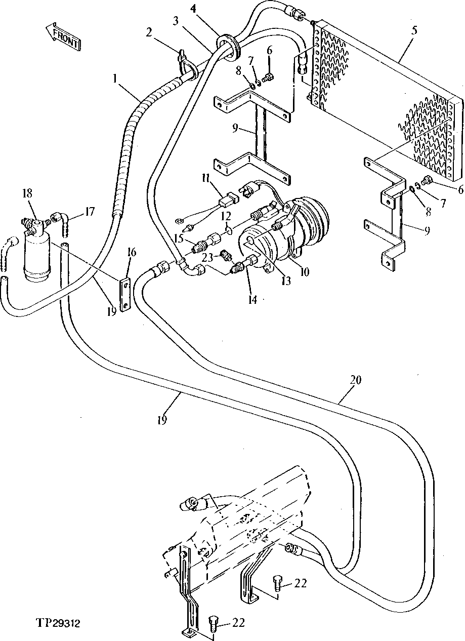
1

HOSE GUARD

(MAKE FROM XHG-075 BULK MATERIAL, CUT TO LENGTH) (SUB FOR AT138222 OR 3052919)

4шт.

2

H77698

TIE BAND

(SUB FOR T44946)

15шт.

3

4209433

REFRIGERANT HOSE

(SUB FOR TH111025)

1шт.

4

94-2812

GROMMET

(SUB FOR TH108102)

1шт.

5

4045674

VAPOR CONDENSER

(SUB FOR TH101342)

1шт.

6

19M7407

CAP SCREW

M8 X 25

4шт.

7

12M7056

LOCK WASHER

8 MM, (SUB FOR 12M7065)

4шт.

8

24M7055

WASHER

8.400 X 16 X 1.600 MM

4шт.

9

8037659

BRACKET

(SUB FOR TH111023)

2шт.

10

TY6744

COMPRESSOR

(REMANUFACTURED) (SUB FOR AT77894)

1шт.

SE501461

COMPRESSOR

(REMANUFACTURED FOR TY6744)

1шт.

11

4176305

WIRING HARNESS

(SUB FOR TH106904)

1шт.

12

R33259

O-RING

(SUB FOR TH101363)

1шт.

13

P51212

O-RING

(SUB FOR TH101361)

1шт.

14

9732797

ADAPTER FITTING

(SUB FOR TH101360) (ALSO ORDER TH112013) (SUB FOR TH112012)

1шт.

15

9719777

HOSE FITTING

(SUB FOR TH101362)

1шт.

16

4208668

STRAP

(SUB FOR TH111024)

1шт.

17

4121984

ADAPTER FITTING

(SUB FOR TH106901)

1шт.

18

4080644

RECEIVER-DRYER

(SUB FOR TH101344)

1шт.

19

4198280

REFRIGERANT HOSE

(SUB FOR TH111026)

2шт.

20

4079259

HOSE

(SUB FOR TH108174)

1шт.

22

19M7402

CAP SCREW

M10 X 25

2шт.

23

4244612

CHECK VALVE

(SUB FOR TH112013)

1шт.

Выбрано товаров: 23