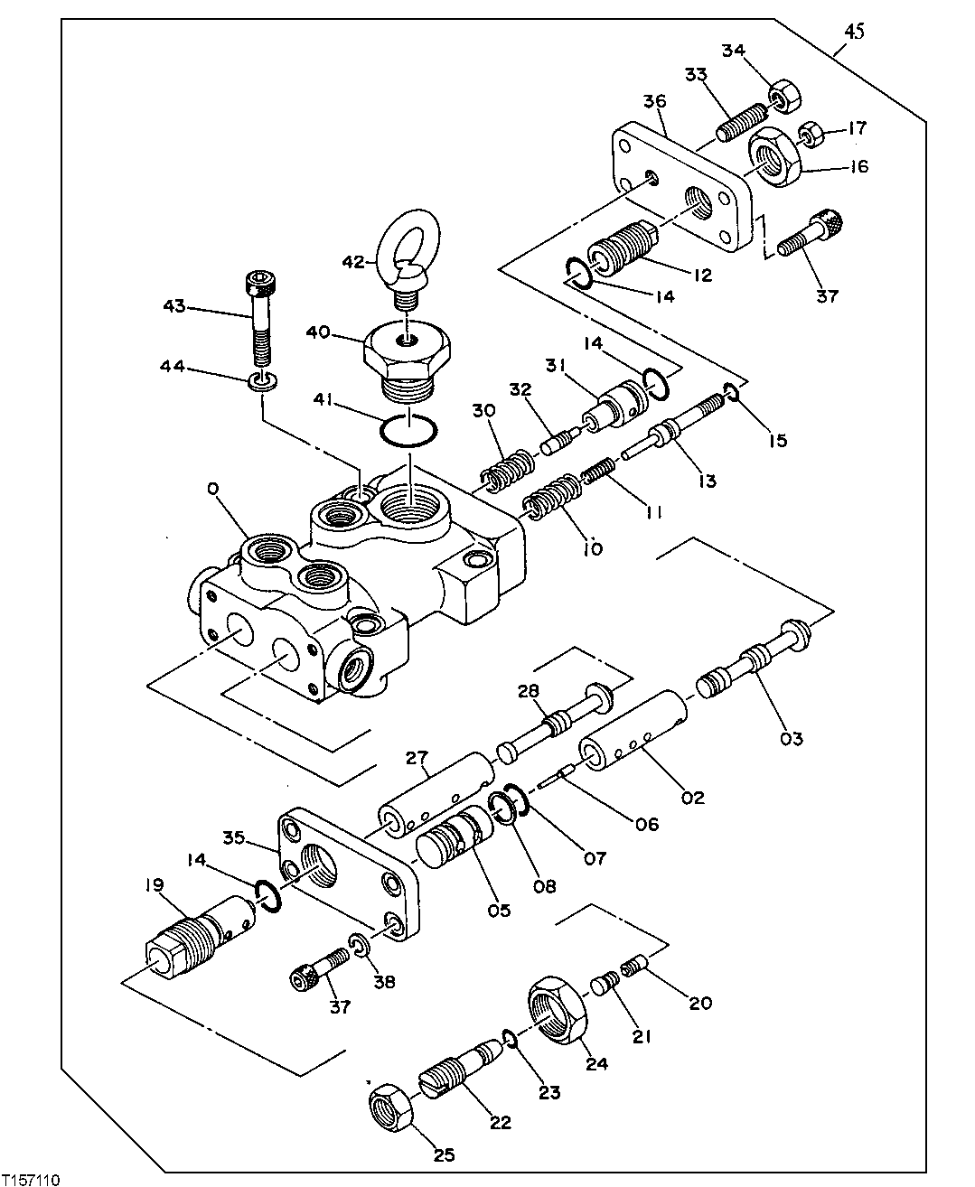
Запчасти John Deere 90D 16 - REGULATOR VALVE 2160 - MAIN HYDRAULIC SYSTEM 21

Схема запчастей John Deere 90D - 16 - REGULATOR VALVE 2160 - MAIN HYDRAULIC SYSTEM 21
FIT
1:1
100%

Артикул

Название

Примечание

Количество

0

CASE

(SUB TH109462)

1шт.

2

4179155

SLEEVE

(SUB FOR TH109892)

1шт.

3

4179156

SPOOL

(SUB FOR TH109893)

1шт.

5

4194173

CYLINDER

(SUB FOR TH109894)

1шт.

6

4194174

PISTON

(SUB FOR TH109895)

1шт.

7

TH102560

O-RING

1шт.

8

4085607

BACK-UP RING

(SUB FOR TH102562)

1шт.

10

4196056

SPRING

(SUB FOR TH109896)

1шт.

11

4196055

SPRING

(SUB FOR TH109897)

1шт.

12

4179161

STOP

(SUB FOR TH109898)

1шт.

13

4179162

STOP

(SUB FOR TH109899)

1шт.

14

4506416

O-RING

(SUB FOR TH102561)

3шт.

15

CH11560

PACKING

(SUB FOR TH109900)

1шт.

16

4068898

NUT

(SUB FOR TH102567)

1шт.

17

14M7273

NUT

M8

1шт.

19

4185668

CYLINDER

(SUB FOR TH109901)

1шт.

20

4185669

PISTON

(SUB FOR TH109902)

1шт.

21

4179165

PISTON

(SUB FOR TH109903)

1шт.

22

4179166

STOP

(SUB FOR TH109904)

1шт.

23

4506408

O-RING

(SUB FOR TH101490)

1шт.

24

4179167

NUT

(SUB FOR TH109905)

1шт.

25

4179168

NUT

(SUB FOR TH109906)

1шт.

27

4185665

SLEEVE

(SUB FOR TH109907)

1шт.

28

4185666

SPOOL

(SUB FOR TH109908)

1шт.

30

4194179

SPRING

(SUB FOR TH109909)

1шт.

31

4179170

CYLINDER

(SUB FOR TH109910)

1шт.

32

4179171

PISTON

(SUB FOR TH109911)

1шт.

33

22M7098

SET SCREW

M10 X 25

1шт.

34

14M7274

NUT

M10, (SUB FOR TH102127)

1шт.

35

4179172

COVER

(SUB FOR TH109912)

1шт.

36

4433327

COVER

(SUB FOR TH109913)

1шт.

37

19M8446

SCREW

8шт.

38

12M7056

LOCK WASHER

8 MM (0.315") (SUB FOR 12M7065)

4шт.

40

4179174

FITTING PLUG

(SUB FOR TH109914)

1шт.

41

TH101926

O-RING

1шт.

42

4092149

EYEBOLT

(SUB FOR TH101814)

1шт.

43

19M8339

SCREW

M10 X 55

4шт.

44

12M7135

LOCK WASHER

10 MM, (SUB FOR TH109458) (SUB FOR 12M6791)

4шт.

45

9073453

REGULATOR

(SUB FOR TH109462)

1шт.

Выбрано товаров: 39