Запчасти John Deere 90D 6 - ARM CYLINDER 3360 - EXCAVATOR 33

Схема запчастей John Deere 90D - 6 - ARM CYLINDER 3360 - EXCAVATOR 33
FIT
1:1
100%

Артикул

Название

Примечание

Количество

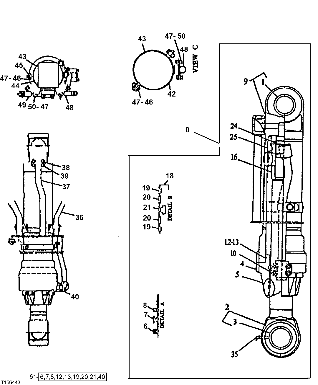
0

AT264193

HYDRAULIC CYLINDER

(SUB FOR TH110043) (USE IF AVAILABLE) (NOT ILLUSTRATED) (CONTAINS ITEMS 1 THROUGH 35) (IF NOT AVAILABLE, SUB AT131428)

1шт.

HYDRAULIC CYLINDER

(USE LEFT BOOM CYLINDER)

1шт.

1

3031788

BUSHING

(SUB FOR TH110045)

1шт.

2

7027815

ROD

(SUB FOR TH111719) (SUB FOR AT171646)

1шт.

3

3031788

BUSHING

(SUB FOR TH110045)

1шт.

4

1015995

CYLINDER HEAD

(SUB FOR AT130816) (SUB FOR TH110047, ALONG WITH 4267139)

1шт.

5

19M8452

SCREW

M24 X 90

8шт.

6

TH110048

SEAL

1шт.

7

AT264398

SEAL

(SUB FOR TH110049)

1шт.

8

RING

( TH110050 NLA)

1шт.

9

9121224

HYDRAULIC CYLINDER BARREL

(SUB FOR TH110044)

1шт.

10

AT131423

BUSHING

(SUB FOR TH110051)

1шт.

12

TH110052

O-RING

134.600 X 5.700 MM (5.299" X 0.224")

1шт.

13

AT264399

BACK-UP RING

(SUB FOR TH110055)

1шт.

16

4185243

RING

(SUB FOR TH110060)

1шт.

18

3034606

PISTON

(SUB FOR TH110061)

1шт.

19

AT264400

RING

(SUB FOR TH110062, 4185247)

2шт.

20

AT264401

WEAR RING

(SUB FOR TH110063)

2шт.

21

AT264402

RING

(SUB FOR TH110065)

1шт.

24

4201806

SET SCREW

(SUB FOR TH110066)

1шт.

25

3038329

NUT

(SUB FOR TH110067)

1шт.

35

T116334

LUBRICATION FITTING

(SUB FOR TH100075)

1шт.

36

8038257

LINE

(SUB FOR TH110053)

1шт.

37

8038256

LINE

(SUB FOR TH110054)

1шт.

38

19M8341

SCREW

M12 X 45

4шт.

39

19M8444

SCREW

M12 X 60

4шт.

40

AT264324

O-RING

(SUB FOR TH100044)

2шт.

41

T116334

LUBRICATION FITTING

(SUB FOR TH100075) (NOT ILLUSTRATED)

1шт.

42

8038475

CLAMP

(SUB FOR TH110056)

1шт.

43

8036709

CLAMP

(SUB FOR TH110057)

2шт.

44

8036711

CLAMP

(SUB FOR TH110058)

1шт.

45

4194153

BUSHING

(SUB FOR TH110028)

4шт.

46

19M7550

CAP SCREW

M10 X 35

4шт.

47

12M7066

LOCK WASHER

10 MM (0.394")

10шт.

48

4194152

CLAMP

(SUB FOR TH110029)

2шт.

49

4174241

CLAMP

(SUB FOR TH110059)

1шт.

50

19M7938

CAP SCREW

M10 X 20

6шт.

51

AT196478

SEAL KIT

1шт.

Выбрано товаров: 38