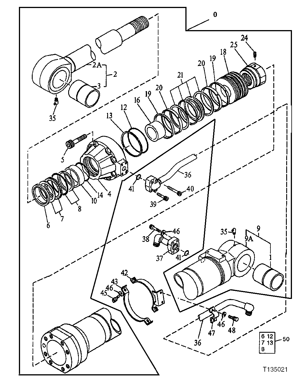
Запчасти John Deere 90D 10 - BUCKET CYLINDER 3360 - EXCAVATOR 33

Схема запчастей John Deere 90D - 10 - BUCKET CYLINDER 3360 - EXCAVATOR 33
FIT
1:1
100%

Артикул

Название

Примечание

Количество

0

AT131430

HYDRAULIC CYLINDER

(SUB FOR TH110069) (USE IF AVAILABLE) (IF AT131430 NOT AVAILABLE, SUB AT182456)

1шт.

9111408EX

CYLINDER

(REMANUFACTURED) (SUB FOR AT182456)

1шт.

1

3031788

BUSHING

(SUB FOR TH110045)

1шт.

2

7016734

ROD

(SUB FOR TH110071) (SUB FOR TH111716)

1шт.

2A

ROD

(SUB TH111716)

1шт.

3

3031789

BUSHING

(SUB FOR TH110072)

1шт.

4

1016385

HYDRAULIC CYLINDER CAP

(SUB FOR AT131249) (SUB FOR TH110016, ALONG WITH AT131251)

1шт.

5

M342280

SCREW

(SUB FOR TH110086)

8шт.

6

TH110017

SEAL

(A)

1шт.

7

AT264395

SEAL

(A) (SUB FOR TH110018)

1шт.

8

RING

(A) (SUB FOR TH110019) ( AT264396 NLA)

1шт.

9

9121225

HYDRAULIC CYLINDER BARREL

(SUB FOR TH110070)

1шт.

9A

ROD

(SUB TH110070)

1шт.

10

4284533

BUSHING

(SUB FOR TH110020) (SUB FOR AT131422) (FITS 3.50 DIAMETER ROD)

1шт.

12

TH110021

O-RING

(A)

1шт.

13

BACK-UP RING

(A) ( 4129443 NLA) (SUB FOR TH110024) (USE WITH TH110069 CYLINDER ONLY)

1шт.

14

4264983

SNAP RING

(SUB FOR AT131251)

1шт.

16

4171477

RING

(SUB FOR TH110031)

1шт.

18

3034605

PISTON

(SUB FOR TH110032)

1шт.

19

AT264397

RING

(SUB FOR TH110033)

2шт.

20

AT318034

WEAR RING

(SUB FOR 4185248, TH110034)

2шт.

21

AT264297

SEAL

(SUB FOR TH110036, AT218148)

1шт.

24

4201805

SET SCREW

(SUB FOR TH110037)

1шт.

25

3038328

NUT

(SUB FOR TH110038)

1шт.

35

T116334

LUBRICATION FITTING

(SUB FOR TH100075)

2шт.

36

8035578

LINE

(SUB FOR TH110073)

1шт.

37

8035579

LINE

(SUB FOR TH110074)

1шт.

38

19M8395

SCREW

M12 X 40

4шт.

39

19M8341

SCREW

M12 X 45

2шт.

40

19M8444

SCREW

2шт.

41

AT264324

O-RING

(SUB FOR TH100044) (USE IF AVAILABLE)

2шт.

AT264324

O-RING

(SUB FOR T32587, TH100044)

2шт.

42

8043034

CLAMP

(SUB FOR TH110025) (SUB FOR TH111971)

1шт.

43

3043348

CLAMP

(SUB FOR TH110027) (SUB FOR TH111973)

1шт.

45

19M7550

CAP SCREW

M10 X 35

2шт.

46

12M7066

LOCK WASHER

10 MM

8шт.

47

4194152

CLAMP

(SUB FOR TH110029)

1шт.

48

19M7402

CAP SCREW

M10 X 25

2шт.

49

SEAL

(ROD AND HEAD END) (NOT ILLUSTRATED OR INCLUDED IN CYLINDER ASSEMBLY - FOR DETAIL SEE BOOM, BUCKET AND ARM PLUMBING)

2шт.

50

SEAL KIT

(INCLUDES PARTS MARKED (A)) (USE TH110035 UNTIL EXHAUSTED) (SUB AT192098) (ALSO ORDER (2) TH110033 AND (2) TH110034)

1шт.

AT192098

SEAL KIT

(INCLUDES PARTS MARKED (A)) (SUB FOR TH110035) (ALSO ORDER (2) TH110033 AND (2) TH110034)

1шт.

Выбрано товаров: 41