Запчасти John Deere 90D 52 - CONTROL VALVE SECTIONS 3360 - EXCAVATOR 33

Схема запчастей John Deere 90D - 52 - CONTROL VALVE SECTIONS 3360 - EXCAVATOR 33
FIT
1:1
100%

Артикул

Название

Примечание

Количество

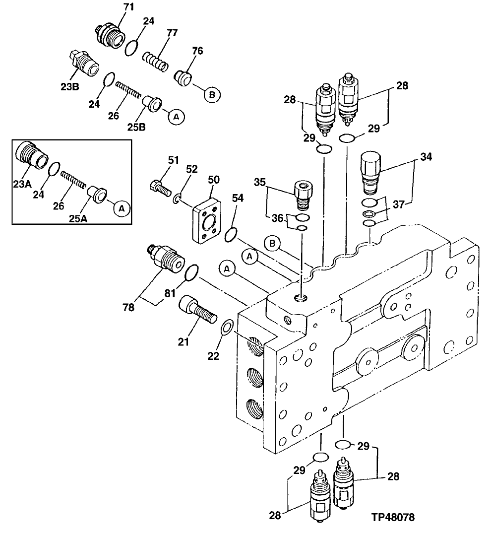
21

0309602

BOLT

(SUB FOR TH111964)

8шт.

22

24M7113

WASHER

17 X 28 X 3 MM, (SUB FOR TH111965)

8шт.

23A

FITTING PLUG

(SUB AT204926)

2шт.

23B

0496323

FITTING PLUG

(SUB FOR TH102731, THIS APPLICATION) (SUB FOR AT204926)

2шт.

24

U17409

O-RING

3шт.

25A

POPPET

(SUB AT168183)

2шт.

25B

0496312

POPPET

(SUB FOR TH102728, THIS APPLICATION) (SUB FOR AT168183)

2шт.

26

0224410

SPRING

(SUB FOR TH102729)

2шт.

28

4228353

PRESSURE RELIEF VALVE

(SUB FOR TH111705) (CIRCUIT RELIEF ANTI-CAVITATION) (RELIEF SETTING AT 4270 PSI)

4шт.

29

U12547

O-RING

(SUB FOR TH112252)

1шт.

34

4378250

FITTING PLUG

(SUB FOR TH109976) (SUB FOR AT177442)

1шт.

35

0309712

FITTING PLUG

(SUB FOR TH109977)

1шт.

36

4257235

SEAL KIT

(SUB FOR TH112255)

1шт.

37

4257234

SEAL KIT

(SUB FOR TH112254)

1шт.

50

0309733

STRAP

(SUB FOR TH111921)

1шт.

51

J901032

SCREW

(SUB FOR TH102737) (SUB FOR TH102040)

4шт.

52

12M7066

LOCK WASHER

10 MM

4шт.

54

A4730R

O-RING

1шт.

71

0309727

FITTING PLUG

(SUB FOR TH109996)

1шт.

76

0309729

POPPET

(SUB FOR TH109999)

1шт.

77

0224413

SPRING

(SUB FOR TH102749)

1шт.

78

0309730

CHECK VALVE

(SUB FOR TH110000)

1шт.

81

U17409

O-RING

(SUB FOR TH102730)

1шт.

90

4224901

HYD ACTUATED CONTROL VALVE

(NOT ILLUSTRATED) (CONTAINS ALL ITEMS ON THIS PAGE, ADDITIONAL COMPONENTS LISTED ON PREVIOUS PAGES) (SUB FOR TH109524, TH111925 AND AT186100)

1шт.

Выбрано товаров: 24