Запчасти John Deere 90D 74 - SUPER LONG FRONT BUCKET CYLINDER 3360 - EXCAVATOR 33

Схема запчастей John Deere 90D - 74 - SUPER LONG FRONT BUCKET CYLINDER 3360 - EXCAVATOR 33
FIT
1:1
100%

Артикул

Название

Примечание

Количество

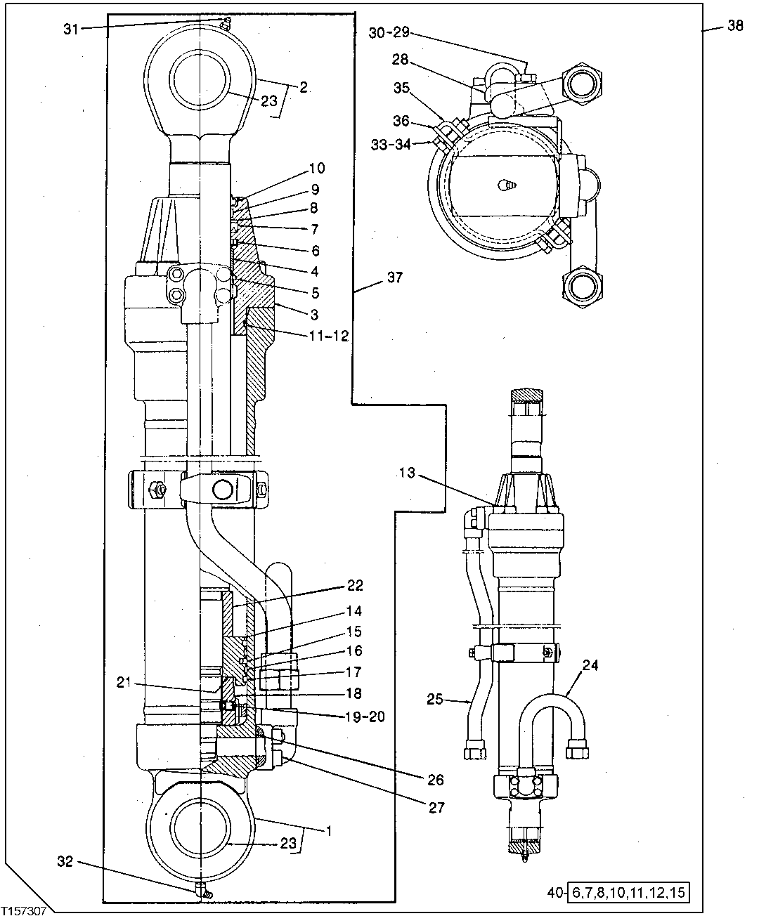
1

HYDRAULIC CYLINDER BARREL

( AT125542 - USE IF AVAILABLE)

1шт.

2

4241243

ROD

(SUB FOR AT125543)

1шт.

3

0326003

HYDRAULIC CYLINDER CAP

(SUB FOR TH111723)

1шт.

4

AT264389

WEAR RING

(SUB FOR TH109372) (FITS 2.50 DIAMETER ROD)

1шт.

5

4510494

SNAP RING

(SUB FOR TH106169)

1шт.

6

AT264376

RING

(SUB FOR TH105766, 4S00167)

1шт.

7

AT264374

SEAL

(SUB FOR TH105764)

1шт.

8

AT264375

BACK-UP RING

(SUB FOR TH105765)

1шт.

9

AT264390

RING

(SUB FOR 4S00135)

1шт.

10

H158164

SCRAPER RING

(SUB FOR TH105763)

1шт.

11

CH17447

PACKING

(SUB FOR TH111724)

1шт.

12

0254905

BACK-UP RING

(SUB FOR TH111725)

1шт.

13

M341656

BOLT

(SUB FOR TH109319 OR 0163406)

8шт.

14

0326004

PISTON

(SUB FOR TH111726)

1шт.

15

0240807

RING

(SUB FOR TH105802)

1шт.

16

0326005

RING

(SUB FOR TH111727)

2шт.

17

0254908

RING

(SUB FOR TH111728)

2шт.

18

0326006

NUT

(SUB FOR TH110252)

1шт.

19

22M7139

SET SCREW

M10 X 10, (SUB FOR TH109380)

1шт.

20

400R

BALL

(SUB FOR TH109381)

1шт.

21

0326007

SHIM

(SUB FOR TH110253)

1шт.

22

0326008

HOUSING

(SUB FOR TH111729)

1шт.

23

0254911

BUSHING

(SUB FOR TH111730)

2шт.

24

0326009

OIL LINE

(SUB FOR TH111731)

1шт.

25

0326010

OIL LINE

(SUB FOR TH111732)

1шт.

26

AT264360

O-RING

(SUB FOR TH104930, 4506430)

2шт.

27

19M8337

SCREW

M10 X 30

8шт.

28

T108036

CLAMP

1шт.

29

19M7361

CAP SCREW

M12 X 50, (SUB FOR T108037)

1шт.

30

12M7058

LOCK WASHER

12 MM, (SUB FOR 12M7067)

1шт.

31

TH100074

LUBRICATION FITTING

1шт.

32

T116334

LUBRICATION FITTING

(SUB FOR TH100075)

1шт.

33

19M7550

CAP SCREW

M10 X 35

2шт.

34

12M7066

LOCK WASHER

10 MM, (SUB FOR TH111733)

2шт.

35

0326011

CLAMP

(SUB FOR TH111734)

1шт.

36

0326012

CLAMP

(SUB FOR TH111735)

1шт.

37

4241241

HYDRAULIC CYLINDER

(SUB FOR AT86766)

1шт.

38

HYDRAULIC CYLINDER

( AT120773 NO LONGER AVAILABLE)

1шт.

40

4214721

SEAL KIT

(ALSO ORDER AT264390, (2) TH111727 AND (2) TH111728) (SUB FOR TH111736)

1шт.

Выбрано товаров: 0