Запчасти John Deere 90ELC 95 - ELECTRIC PARTS ( - 015471) 1674 Wiring Harness And Switches

Схема запчастей John Deere 90ELC - 95 - ELECTRIC PARTS ( - 015471) 1674 Wiring Harness And Switches
FIT
1:1
100%

Артикул

Название

Примечание

Количество

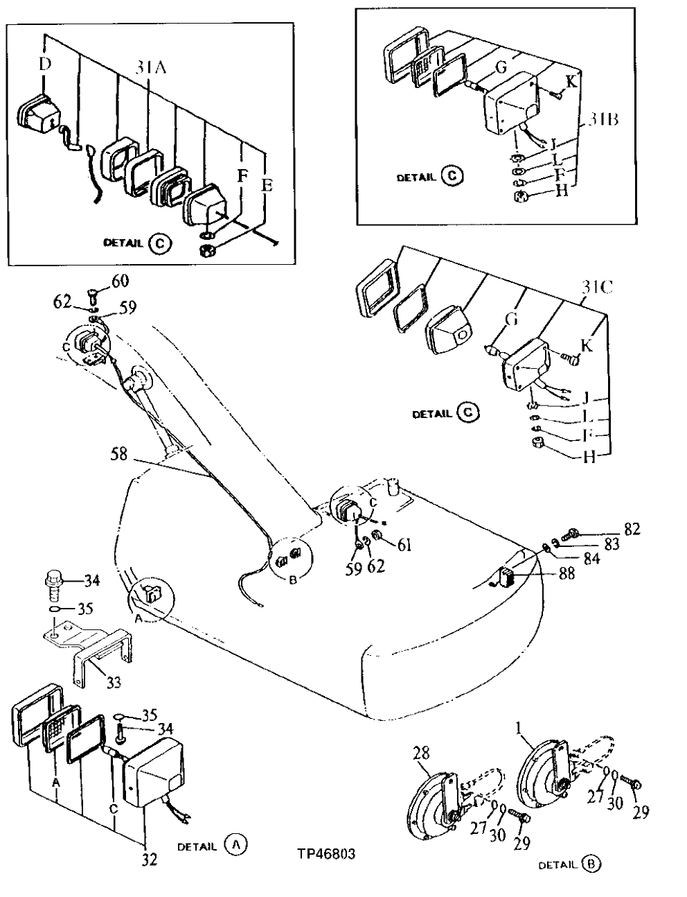
1

AT64237

Horn

1шт.

27

12M7056

Lock Washer

8 mm (SUB FOR 12M7065)

2шт.

28

AT64237

Horn

1шт.

29

19M7407

Cap Screw

M8 X 25

2шт.

30

24M7055

Washer

8.400 X 16 X 1.600 mm

2шт.

31A

4326800

Lamp

( TH102149 NLA)

2шт.

31B

4326800

Lamp

( AT159146 NLA)

2шт.

31C

4326800

Lamp

(SUB FOR AT176424)

2шт.

31D

4326800

Lamp

(SUB FOR TH102150, 4163596)

1шт.

31E

14M7502

Nut

M14 (SUB FOR 14M7150)

1шт.

31F

12H317

Lock Washer

9/16"

1шт.

31G

AT135758

Bulb

(SUB FOR AT159149)(USE IF AVAILABLE)

1шт.

AT135758

Bulb

(SUB FOR AT159149 OR AT154990)

1шт.

31H

14M7345

Nut

M14 (SUB FOR J952014 ) (SUB FOR TH103791)

1шт.

31J

4307026

Washer

(SUB FOR T144361)

1шт.

31K

37H19

Screw

(SUB FOR T144362 OR 4307027)

1шт.

31L

24M7085

Washer

15 X 28 X 2.500 mm

1шт.

32

4274478

Headlight

(SUB FOR AT154323)

1шт.

32A

4285646

Lens

(SUB FOR AT154988)

1шт.

32C

AT135758

Bulb

(SUB FOR AT154990)

1шт.

33

8061439

Bracket

(SUB FOR AT203634)

1шт.

34

19M7402

Cap Screw

M10 X 25

2шт.

35

12M7066

Lock Washer

10 mm

2шт.

58

4261623

Wiring Harness

(SUB FOR AT155283)(BOOM LIGHT)

1шт.

59

4254604

Wiring Harness

(SUB FOR AT154214)

2шт.

60

21M7285

Screw

M6 X 12

1шт.

61

14M7272

Nut

M6

1шт.

62

12M7006

Lock Washer

6 mm

2шт.

82

19M8456

Cap Screw

M8 X 100

2шт.

83

12M7056

Lock Washer

8 mm (SUB FOR 12M7065)

2шт.

84

24M7055

Washer

8.400 X 16 X 1.600 mm

2шт.

88

AT301074

Alarm System

(SUB FOR AT154966, 4283028)

1шт.

Выбрано товаров: 32