Запчасти John Deere 90ELC 174 - Oil Tank 2160 HYDRAULIC SYSTEM

Схема запчастей John Deere 90ELC - 174 - Oil Tank 2160 HYDRAULIC SYSTEM
FIT
1:1
100%

Артикул

Название

Примечание

Количество

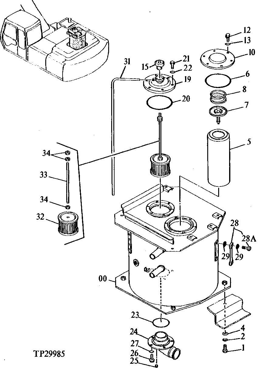
0

5003119

Tank

SUB FOR AT154807

1шт.

5004496

Tank

SUB FOR AT204842

1шт.

1

19M7488

Cap Screw

M16 X 40

4шт.

2

12H294

Lock Washer

5/8"

4шт.

4

24M7338

Washer

17 X 30 X 3 mm

4шт.

5

AT147343

Filter Element

1шт.

AT162766

Filter Element

CLEAN-UP FILTER, SHORT TERM USE - A PPROXIMATELY THREE HOURS, IDLE SPEED

1шт.

6

T110444

O-Ring

189.300 X 5.700 mm

1шт.

7

4180414

Flow Control Hyd. Valve

SUB FOR TH109511

1шт.

8

4226549

Extension Spring

SUB FOR TH109512

1шт.

10

4204057

Cover

SUB FOR TH111304

1шт.

12

19M3142

Cap Screw

M10 X 18

6шт.

13

12M7066

Lock Washer

10 mm

6шт.

15

4294701

Cap

SUB FOR AT155393

1шт.

19

8049319

Cover

SUB FOR AT154496

1шт.

20

TH100679

O-Ring

159.300 X 5.700 mm

1шт.

21

19M8761

Screw

M10 X 22

6шт.

22

12M7058

Lock Washer

12 mm SUB FOR 12M7067

6шт.

23

TH102793

O-Ring

129.600 X 5.700 mm

1шт.

24

2037826

Tube

SUB FOR AT155222

1шт.

2037826

Tube

SUB FOR AT202410, USE IF AVAILABLE

1шт.

2037826

Tube

SUB FOR AT202410, SUB FOR AT176800

1шт.

25

942011

Fitting Plug

SUB FOR 94-2011 AND TH100434

1шт.

26

19M7402

Cap Screw

M10 X 25

5шт.

27

12M7066

Lock Washer

10 mm

5шт.

28

8053499

Level Gauge

SUB FOR TH108293

1шт.

28A

4100967

Bolt

SUB FOR TH101894

2шт.

29

449558

Washer

SUB FOR TH100675

4шт.

31

Bulk Hose

SUB FOR TH100673, MF PMK 010-0507 CTL, 4149677 NLA

1шт.

32

4210224

Strainer

SUB FOR TH110133

1шт.

AT190750

Strainer

ARCTIC, 32 MESH FOR ARCTIC CONDITIONS

1шт.

33

4286957

Compressor Rod

SUB FOR AT155361

1шт.

34

14M7274

Nut

M10

3шт.

Выбрано товаров: 0