Запчасти John Deere 90ELC 178 - OIL COOLER PIPINGS ( - 014999) 2160 HYDRAULIC SYSTEM

Схема запчастей John Deere 90ELC - 178 - OIL COOLER PIPINGS ( - 014999) 2160 HYDRAULIC SYSTEM
FIT
1:1
100%

Артикул

Название

Примечание

Количество

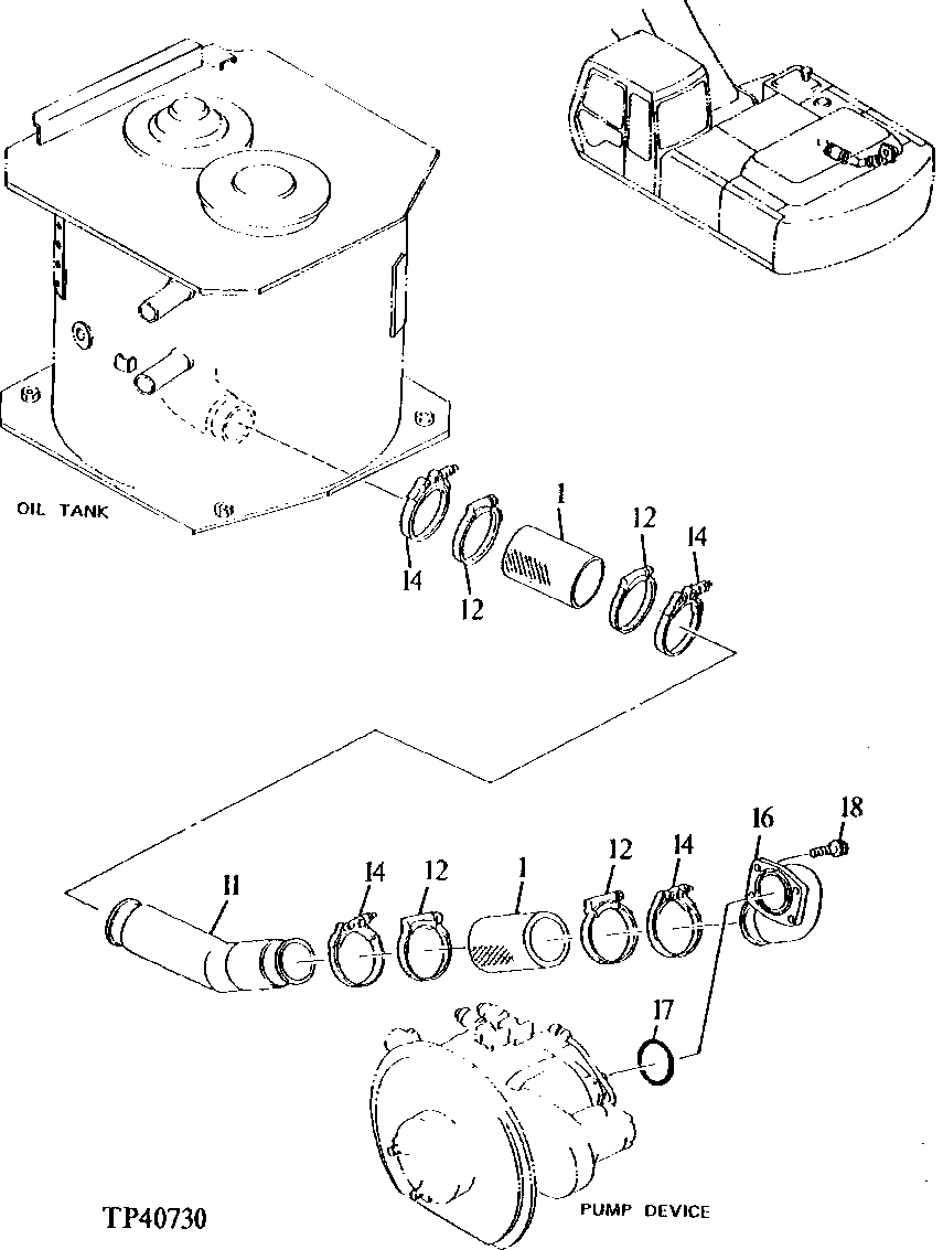
1

4249346

Hose

(SUB FOR AT155264)

2шт.

11

8052013

Line

(SUB FOR AT155566)

1шт.

12

Z29925

Clamp

(SUB FOR AH103182)

4шт.

14

AT56658

Hose Clamp

4шт.

16

2028449

Manifold

(SUB FOR AT155223)

1шт.

17

CH17854

Packing

1шт.

18

19M8168

Screw

M12 X 25

4шт.

Выбрано товаров: 7