Запчасти John Deere 90ELC 182 - Control Valve 2160 HYDRAULIC SYSTEM

Схема запчастей John Deere 90ELC - 182 - Control Valve 2160 HYDRAULIC SYSTEM
FIT
1:1
100%

Артикул

Название

Примечание

Количество

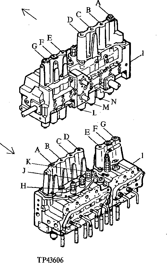
1

4302754

Hyd Actuated Control Valve

(SUB FOR AT158396, AT1861 02 AND AT154751, 4312149)

1шт.

1A

Section

(AUXILIARY)

1шт.

1B

Section

(ARM)

1шт.

1C

Section

(BOOM)

1шт.

1D

Section

(BUCKET)

1шт.

1E

Section

(SWING)

1шт.

1F

Section

(RIGHT PROPEL)

1шт.

1G

Section

(LEFT PROPEL)

1шт.

1H

Valve

(ARM OUT CIRCUIT RELIEF VALVE)

1шт.

1J

Valve

(BOOM RAISE CIRCUIT RELIEF VALVE)

1шт.

1K

Valve

(BUCKET CURL CIRCUIT RELIEF VALVE)

1шт.

1L

Valve

(BUCKET DUMP CURCUIT RELIEF VALVE)

1шт.

1M

Valve

(BOOM DOWN CIRCUIT RELIEF VALVE)

1шт.

1N

Valve

(ARM IN CIRCUIT RELIEF VALVE)

1шт.

Выбрано товаров: 14