Качественные детали и логистика
Оригинальные и аналоговые запчасти с доставкой по России, Казахстану и Беларуси
©2022 PartSell ООО "Система" ИНН 2463123282 ОГРН 1212400004838
Центральный офис: г. Красноярск, Академика Киренского, д.87, пом.4
Телефон: 8 (800) 777-65-74 Email: zakaz@partsell.ru
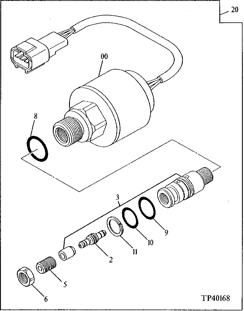
192 - DIFFERENTIAL PRESSURE SENSOR
№
Артикул
Название
Примечание
Количество
0
Sensor
9102068 NOT AVAILABLE SUB FOR AT154532
1шт.
2
4262767
Piston
SUB FOR AT154286
3
9738163
SUB FOR AT158069
5
4263639
Bolt
SUB FOR AT154288
6
4258399
Nut
SUB FOR AT154254
8
4506418
O-Ring
SUB FOR U46489
9
4247582
SUB FOR AT154183
10
4185504
SUB FOR TH109131
11
4185505
Back-Up Ring
SUB FOR TH109132 OR 4S01082
20
4339559
SUB FOR AT154530 Differential Pressure
Выбрано товаров: 0