Запчасти John Deere 90ELC 232 - Short Arm (2.31 m. - 7 ft. 7 in.) 3340 Frames

Схема запчастей John Deere 90ELC - 232 - Short Arm (2.31 m. - 7 ft. 7 in.) 3340 Frames
FIT
1:1
100%

Артикул

Название

Примечание

Количество

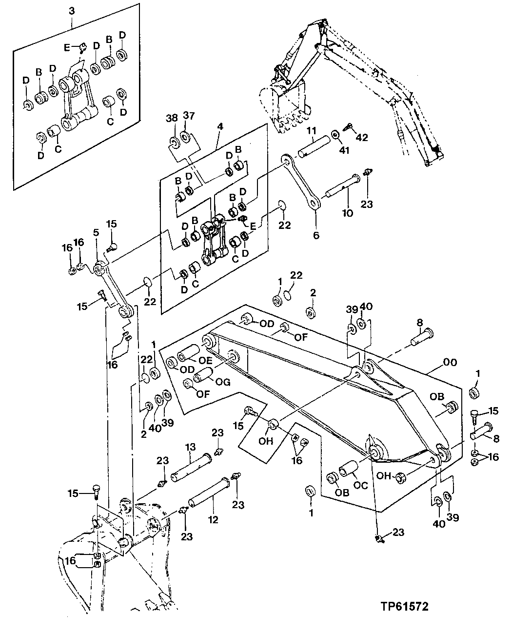
11

T138885

Pin

ALSO ORDER T138902 AND 19M8029, SUB FOR 3038448

1шт.

T138902

Bushing

Not Illustrated

1шт.

19M8029

Cap Screw

M16 X 30 Not Illustrated

1шт.

12

TH110235

Pin Fastener

1шт.

13

TH110236

Pin Fastener

1шт.

15

19M8503

Cap Screw

M20 X 160

6шт.

16

14M7277

Nut

M20

12шт.

22

4089028

O-Ring

(STANDARD O-RING)

4шт.

AT349466

Seal

(SPLIT O-RING)

4шт.

T397473

V-Ring Seal

V O-Ring

4шт.

23

TH100074

Lubrication Fitting

7шт.

37

4361177

Washer

(SUB FOR TH106309 ) (SUB FOR AT214005)

ARшт.

38

4189837

Washer

(SUB FOR TH106310)

ARшт.

39

4366691

Thrust Washer

(SUB FOR TH104296, THIS APPL ICATION ) (SUB FOR AT214029)

ARшт.

40

4367409

Thrust Washer

(SUB FOR TH104297, THIS APPL ICATION ) (SUB FOR AT214039)

ARшт.

41

T138902

Bushing

1шт.

42

19M8029

Cap Screw

M16 X 30

1шт.

50

AT175751

Arm

WHOLE GOODS Includes Short Arm, Bucke t Cylinder and Linkage Not Illustrated Contains All Items On This Page Addit ional Components Listed on Other Pages

1шт.

Выбрано товаров: 18