Запчасти John Deere 90ELC 234 - SUPER LONG FRONT 3340 Frames

Схема запчастей John Deere 90ELC - 234 - SUPER LONG FRONT 3340 Frames
FIT
1:1
100%

Артикул

Название

Примечание

Количество

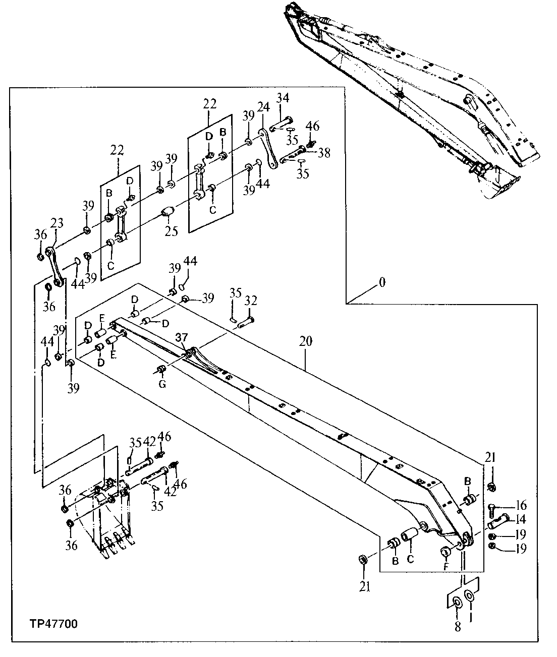
0

AT159517

Mounting Parts

WHOLEGOODS (SUPER LONG FRONT) (CONTAI NS ALL ITEMS ON THIS PAGE - ADDITIONAL COMPONENTS LISTED ON FOLLOWING PAGES)

1шт.

1

TH106307

Washer

1шт.

2

T153672

Label

(LONG FRONT OPERATION) (NOT ILLUSTRATED) (SEE LABEL AND DECAL PAGE FOR LOCATION)

1шт.

T153708

Label

(LONG FRONT OPERATION - FRENCH) (NOT ILLUSTR ATED) (SEE LABEL AND DECAL PAGE FOR LOCATION)

1шт.

T153709

Label

(LONG FRONT OPERATION - SPANI SH) (NOT ILLUSTRATED) (SEE LAB EL AND DECAL PAGE FOR LOCATION )

1шт.

3

T153673

Label

(LONG FRONT PERIODIC MAINTENAN CE) (NOT ILLUSTRATED) (SEE LABE L AND DECAL PAGE FOR LOCATION)

1шт.

T153710

Label

(LONG FRONT PERIODIC MAINTENANCE - FRENCH) (NOT ILLUSTRATED) (SEE L ABEL AND DECAL PAGE FOR LOCATION)

1шт.

T153711

Label

(LONG FRONT PERIODIC MAINTENANCE - SPANISH) (NOT ILLUSTRATED) (SEE LABEL AND DECAL PAGE FOR LOCATION)

1шт.

8

TH106308

Washer

1шт.

14

AT318056

Pin

(SUB FOR 3060340, AT159590)

1шт.

16

19M8503

Cap Screw

M20 X 160

1шт.

19

14M7277

Nut

M20

2шт.

20

7025575

Arm

(SUB FOR AT159591)

1шт.

20B

AT159593

Bushing

2шт.

3061371

Bushing

(SUB FOR AT168249)

2шт.

20C

4293418

Bushing

(SUB FOR AT159594)

1шт.

20D

AT122209

Bushing

65 X 80 X 50 mm

4шт.

20E

4287248

Bushing

(SUB FOR AT159595)

2шт.

20F

TH102409

Bushing

92.075 X 120.650 X 50.800 mm

1шт.

20G

TH108649

Bushing

1шт.

21

TH102411

Seal

2шт.

22

8052470

Link

(SUB FOR AT159596)

2шт.

22B

4196557

Bushing

(SUB FOR TH108934)

1шт.

22C

AT122209

Bushing

65 X 80 X 50 mm

1шт.

22D

TH100074

Lubrication Fitting

1шт.

23

9738223

Link

(SUB FOR AT159598)

1шт.

24

4287250

Link

(SUB FOR AT159599)

1шт.

25

4287249

Spacer

(SUB FOR AT159600)

1шт.

32

3044367

Pin

(SUB FOR AT134035)

1шт.

34

AT159601

Pin

1шт.

35

4065689

Pin Fastener

(SUB FOR TH100625)

5шт.

36

4065688

Retainer

(SUB FOR TH100624)

4шт.

37

Retainer

(NOT AVAILABLE FOR SERVICE - WELDED ON ARM)

1шт.

38

AT318041

Pin Fastener

(SUB FOR 3058763, AT159602)

1шт.

39

TH100374

Seal

10шт.

42

AT159603

Pin

2шт.

44

4066923

O-Ring

95 X 10 mm (SUB FOR AT121233)

4шт.

46

TH100074

Lubrication Fitting

3шт.

Выбрано товаров: 38