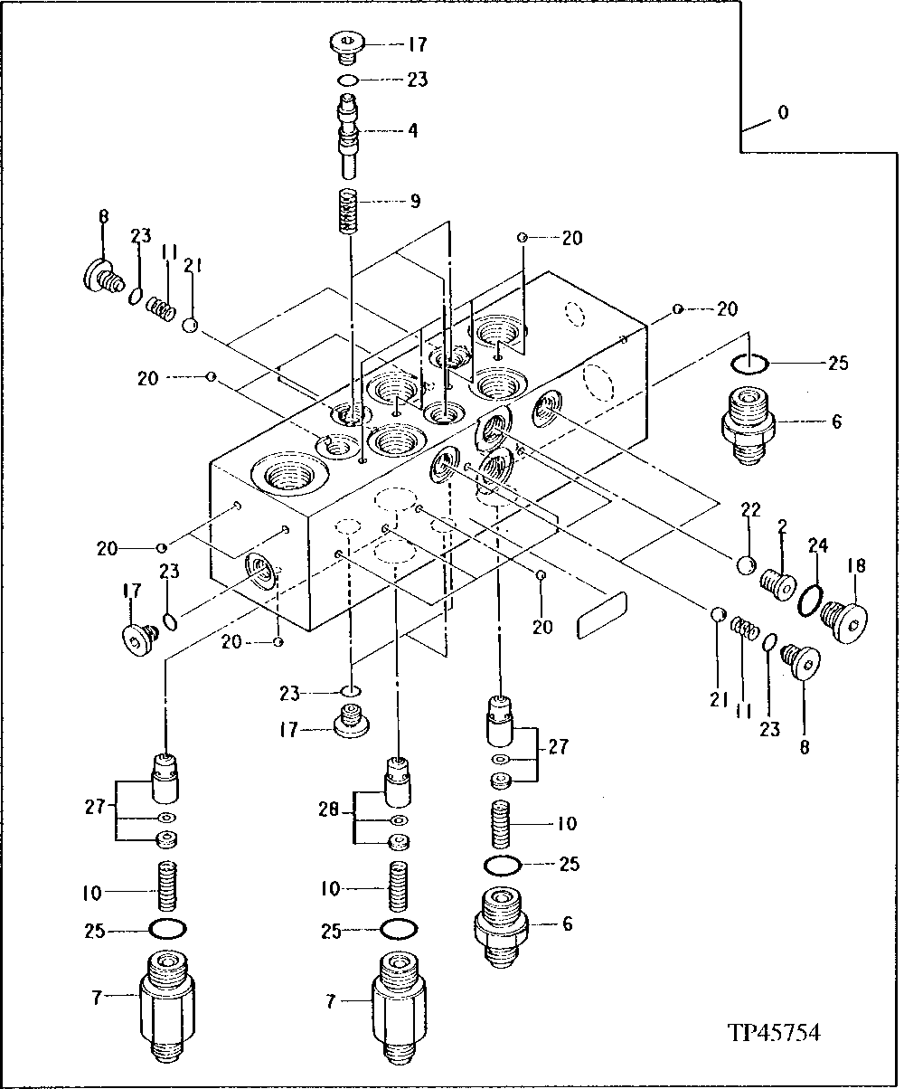
Запчасти John Deere 90ELC 270 - Flow Control Valve (015000 - ) 3360 HYDRAULIC SYSTEM

Схема запчастей John Deere 90ELC - 270 - Flow Control Valve (015000 - ) 3360 HYDRAULIC SYSTEM
FIT
1:1
100%

Артикул

Название

Примечание

Количество

0

4340938

Flow Control Hyd. Valve

SUB FOR AT204836

1шт.

2

0614101

Seat

SUB FOR AT204780

1шт.

4

0614201

Valve Spool

SUB FOR AT204783

3шт.

6

0614202

Electrical Connector Assy

SUB FOR AT204784

2шт.

7

0614203

Electrical Connector Assy

SUB FOR AT204785

2шт.

8

0614204

Fitting Plug

SUB FOR AT204861

4шт.

9

0614205

Compression Spring

SUB FOR AT204786

3шт.

10

0614206

Compression Spring

SUB FOR AT204787

3шт.

11

0614207

Compression Spring

SUB FOR AT204788

4шт.

17

4336165

Drain Plug

SUB FOR 0343512 AND AT204859

7шт.

18

0314205

Plug

SUB FOR AT120949 OR TH0314205

1шт.

20

0228903

Ball

SUB FOR AT204858

16шт.

21

F740009D

Ball

7.137 mm SUB FOR AT204789 OR 0614208

4шт.

22

0253304

Ball

SUB FOR AT204777

1шт.

23

4506408

O-Ring

7.800 X 1.900 mm SUB FOR TH101490

11шт.

24

M800650

Packing

1шт.

25

CH11570

O-Ring

4шт.

27

0614209

Check Valve

SUB FOR AT204790

2шт.

28

0614210

Check Valve

SUB FOR AT204791

1шт.

Выбрано товаров: 19