Запчасти John Deere 90ELC 19 - Rotary Manifold 0260 HYDRAULIC SYSTEM

Схема запчастей John Deere 90ELC - 19 - Rotary Manifold 0260 HYDRAULIC SYSTEM
FIT
1:1
100%

Артикул

Название

Примечание

Количество

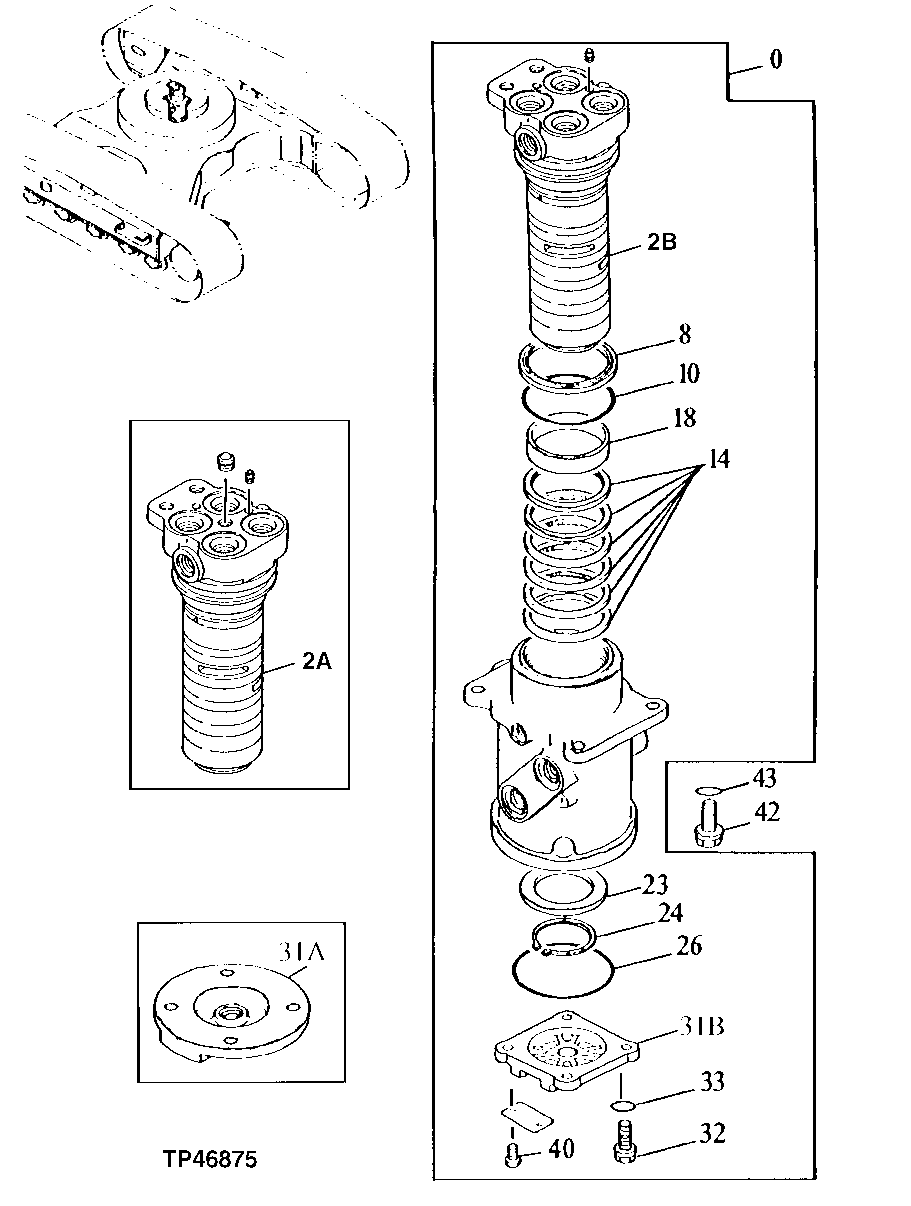
0

AT154528

Manifold

NLA, (ORDER AT182278)

1шт.

AT182278

Jointer

NLA, (ORDER 9107265EX) (SUB FOR AT154528)

1шт.

9107265

Manifold

1шт.

9107265EX

Manifold Reman

(SUB FOR AT182278) (REMAN FOR 9107265)

1шт.

2A

Spindle

(SUB AT182278)

1шт.

2B

Spindle

(SUB AT182278)

1шт.

8

AT154321

Seal

1шт.

10

AT264418

O-Ring

(SUB FOR 4367664, U46155)

1шт.

14

AT154162

Seal

6шт.

18

4241780

Bushing

(SUB FOR AT154173)

1шт.

23

Ring

(SUB AT203646)( TH1105 03 NO LONGER AVAILABLE)

1шт.

3070250

Ring

(SUB FOR AT203646)

1шт.

24

40M7048

Snap Ring

1шт.

26

CH16109

Packing

1шт.

31A

Cover

(SUB AT170452)( AT1540 83 NO LONGER AVAILABLE)

1шт.

31B

2034607

Cover

(SUB FOR AT170452)

1шт.

32

19M7662

Cap Screw

M10 X 30

4шт.

33

12M7066

Lock Washer

10 mm

4шт.

40

37H99

Screw

0.100" X 1/4"

2шт.

42

19M7403

Cap Screw

M12 X 35

4шт.

43

12H301

Lock Washer

1/2"

4шт.

Выбрано товаров: 21