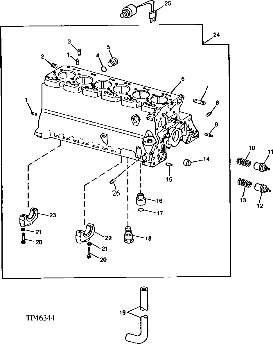
Запчасти John Deere 90ELC 29 - CYLINDER BLOCK AND MAIN BEARING CAP 0404 Cylinder Block 6068TT005 6068TT005

Схема запчастей John Deere 90ELC - 29 - CYLINDER BLOCK AND MAIN BEARING CAP 0404 Cylinder Block 6068TT005 6068TT005
FIT
1:1
100%

Артикул

Название

Примечание

Количество

1

R48685

Dowel Pin

4шт.

2

15H562

Pipe Plug

1"

1шт.

3

RE57836

Pipe Plug

12.700 mm (SUB FOR 15H62 4)(WITHOUT TURBOCHARGER)

1шт.

4

U13639

O-Ring

1шт.

5

R39741

Drain Plug

1шт.

6

Cylinder Block

1шт.

7

R122226

Stud

(SUB FOR R122226)

2шт.

8

R104592

Pipe Plug

7шт.

9

T25701

Stud

1шт.

10

T27658

Spring

1шт.

11

R83169

Valve

1шт.

12

R111135

Valve

1шт.

13

R111137

Spring

1шт.

14

R26493

Bushing

OIL PRESSURE RELIEF VALVE

1шт.

15

R26650

Dowel Pin

2шт.

16

R115390

Bushing

1шт.

17

R97185

O-Ring

(OIL PUMP TUBE)

1шт.

18

R54802

Orifice

6шт.

19

R112867

Oil Tube

1шт.

20

T23474

Cap Screw

14шт.

21

T20168

Washer

14шт.

22

R65215

Bearing Cap

MAIN BEARING

6шт.

23

R79089

Cap

MAIN BEARING

1шт.

24

RE50677

Cylinder Block

(MARKED R112871 OR R124853 ) (ALSO ORDER R8 3169, T27658, R111135, R111137 AND R112867)

1шт.

25

AT145384

Switch

ENGINE OIL PRESSURE

1шт.

26

15H623

Pipe Plug

3/8"

ARшт.

Выбрано товаров: 0