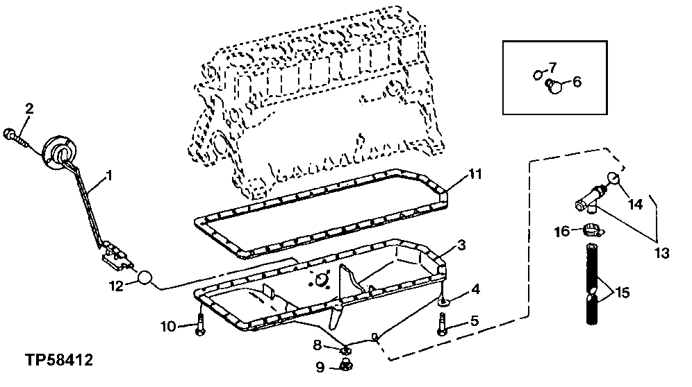
Запчасти John Deere 90ELC 34 - Engine Oil Pan 0407 OILING SYSTEM 6068TT005 6068TT005

Схема запчастей John Deere 90ELC - 34 - Engine Oil Pan 0407 OILING SYSTEM 6068TT005 6068TT005
FIT
1:1
100%

Артикул

Название

Примечание

Количество

1

RE16223

Sensor

1шт.

2

19M8425

Cap Screw

M6 X 16 SUB FOR 19M7560

3шт.

3

R132654

Oil Pan

NLA; ORDER R532063

1шт.

R532063

Oil Pan

SUB FOR R132654

1шт.

4

12H304

Lock Washer

3/8"

4шт.

5

19H3065

Cap Screw

3/8" X 2"

4шт.

6

R27474

Drain Plug

ARшт.

7

R47151

O-Ring

ARшт.

8

T13213

Washer

1шт.

9

M1746T

Drain Plug

1шт.

10

19H3411

Screw

3/8" X 1-1/8"

28шт.

19H3727

Screw

3/8" X 2"

4шт.

11

R97344

Gasket

1шт.

12

R47154

O-Ring

1шт.

13

AT152180

Drain Valve

ARшт.

14

R26906

O-Ring

ARшт.

15

Hose

(MAKE FROM T60811, BULK MATERIAL, CUT TO LENGTH)

ARшт.

16

AR21839

Clamp

ARшт.

Выбрано товаров: 18