Запчасти John Deere 90ELC 42 - Fuel Injection System 0413 Fuel Injection System 6068TT005 6068TT005

Схема запчастей John Deere 90ELC - 42 - Fuel Injection System 0413 Fuel Injection System 6068TT005 6068TT005
FIT
1:1
100%

Артикул

Название

Примечание

Количество

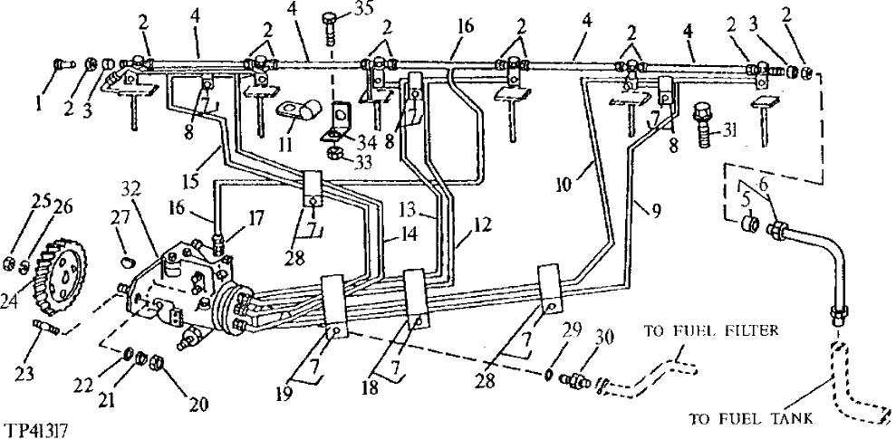
1

AR85519

Plug

(SUB FOR 16H658, THIS APPLICATION)

1шт.

2

R51937

Tube Nut

11шт.

3

R51936

Sealing Washer

11шт.

4

R66090

Tube

4шт.

5

R51936

Sealing Washer

1шт.

6

RE16142

Fuel Line

1шт.

7

19M7300

Cap Screw

M6 X 10

7шт.

8

RE19797

Clamp

3шт.

9

RE40386

Fuel Line

NO. 5

1шт.

RE53860

Fuel Line

NO.5

1шт.

10

RE40387

Fuel Line

NO. 6

1шт.

RE53861

Fuel Line

NO.6

1шт.

11

T29969

Clamp

1шт.

12

RE40384

Fuel Line

NO. 3

1шт.

RE53858

Fuel Line

NO.3

1шт.

13

RE40385

Fuel Line

NO. 4

1шт.

RE53859

Fuel Line

NO.4

1шт.

14

RE43986

Fuel Line

NO. 1

1шт.

RE53856

Fuel Line

NO.1

1шт.

15

RE40383

Fuel Line

NO. 2

1шт.

RE53857

Fuel Line

NO.2

1шт.

16

AR85615

Line

LEAK-OFF

1шт.

17

R35352

Fitting

1шт.

18

RE19799

Clamp

1шт.

19

RE19800

Clamp

1шт.

20

14H785

Nut

5/16"

3шт.

21

12H303

Lock Washer

5/16"

3шт.

22

T27860

Washer

3шт.

23

T23442

Stud

3шт.

24

R104907

Gear

(48 TEETH)

1шт.

25

R91360

Nut

1шт.

26

R132874

Washer

(SUB FOR R48600)

1шт.

27

H64373

Shaft Key

(SUB FOR R56424 OR M114270)(CUT TO LENGTH)

1шт.

28

RE19797

Clamp

2шт.

29

R26286

O-Ring

10.516 X 1.829 mm

1шт.

30

R27272

Fitting

1шт.

31

R101201

Cap Screw

7.925 X 19.050 mm

6шт.

32

RE45484

Fuel Injection Pump

(STANADYNE NO. DB46294920)

1шт.

SE500520

Fuel Injection Pump Reman

(STANADYNE NO. DB462949 20) (REMAN FOR RE45484)

1шт.

33

N10215

Lock Nut

1шт.

34

R100392

Angle

1шт.

35

19H2038

Cap Screw

3/8" X 1/2"

1шт.

Выбрано товаров: 42