Качественные детали и логистика
Оригинальные и аналоговые запчасти с доставкой по России, Казахстану и Беларуси
©2022 PartSell ООО "Система" ИНН 2463123282 ОГРН 1212400004838
Центральный офис: г. Красноярск, Академика Киренского, д.87, пом.4
Телефон: 8 (800) 777-65-74 Email: zakaz@partsell.ru
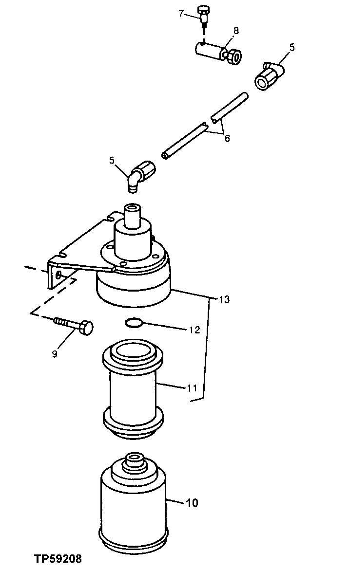
65 - Cold Weather Starting Aid
№
Артикул
Название
Примечание
Количество
5
14M7166
Lock Nut
M8
2шт.
RE21790
Elbow Fitting
6
Tube
(MAKE FROM T78593 BULK MATERIAL, CUT TO LENGTH)
1шт.
7
R28583
Nozzle
8
R47160
Nozzle Holder
9
19H2664
Cap Screw
5/16" X 3/4"
10
RE33636
Starting Fluid
11
R73498
Container
ETHER CAN HOLDER
12
T13119
O-Ring
13
RE48311
Starting Aid
Выбрано товаров: 0