Запчасти John Deere 92DLC 70 - RADIATOR SUPPORT (010053 - ) 0510 COOLING SYSTEMS

Схема запчастей John Deere 92DLC - 70 - RADIATOR SUPPORT (010053 - ) 0510 COOLING SYSTEMS
FIT
1:1
100%

Артикул

Название

Примечание

Количество

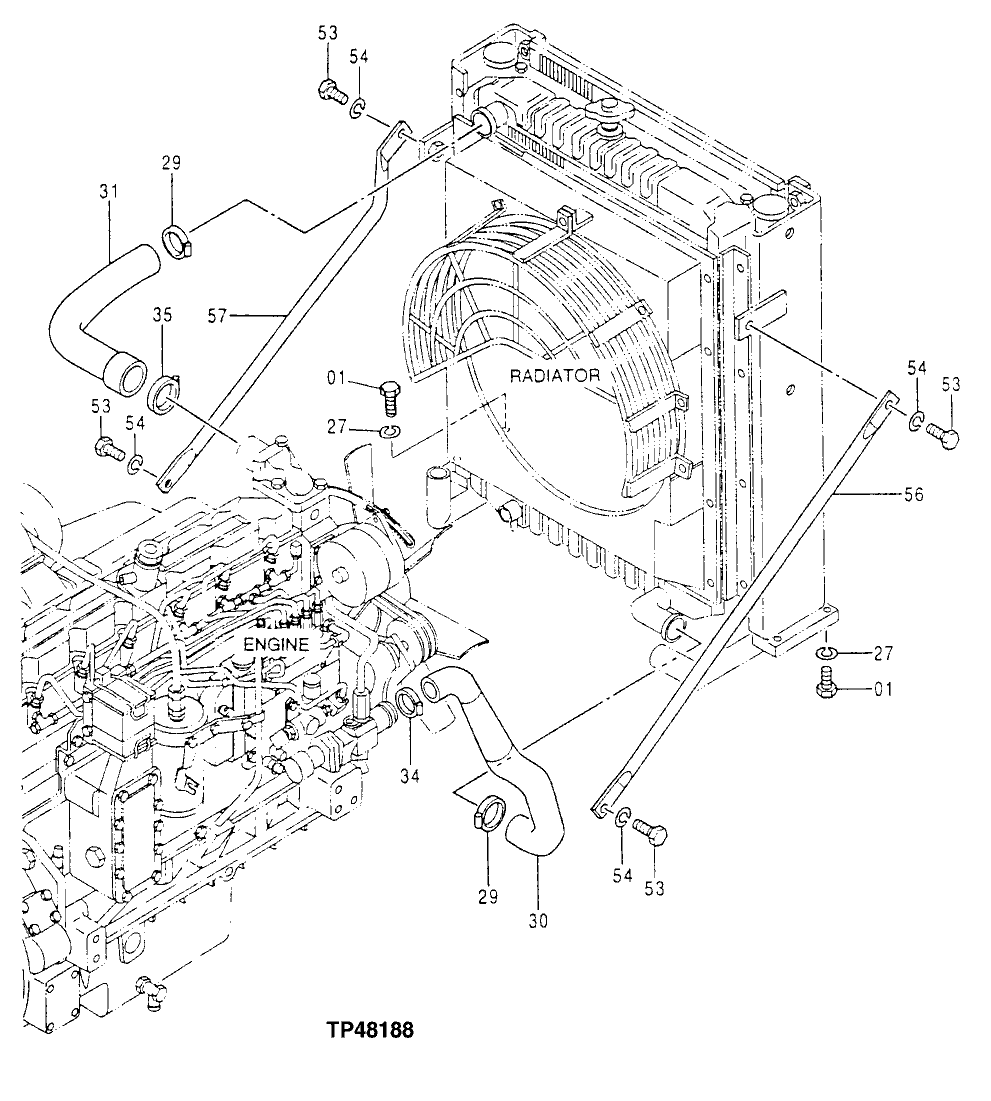
1

19M7489

Cap Screw

M16 X 45

4шт.

27

12H294

Lock Washer

5/8"

4шт.

29

TY22470

Clamp

(SUB FOR AR65293)

2шт.

30

3074564

Radiator Hose

(SUB FOR AT205762)

1шт.

31

3074563

Radiator Hose

(SUB FOR AT205761)

1шт.

34

TY22472

Clamp

(SUB FOR AT145651)

1шт.

35

TY22472

Clamp

(SUB FOR AT145651)

1шт.

53

19M8035

Cap Screw

M16 X 35

4шт.

54

12H294

Lock Washer

5/8"

4шт.

56

3074565

Stop

(SUB FOR AT205763)

1шт.

57

3074566

Stop

(SUB FOR AT205764)

1шт.

Выбрано товаров: 11