Запчасти John Deere 92DLC 102 - Track Frame 1740 Frame Installation

Схема запчастей John Deere 92DLC - 102 - Track Frame 1740 Frame Installation
FIT
1:1
100%

Артикул

Название

Примечание

Количество

0

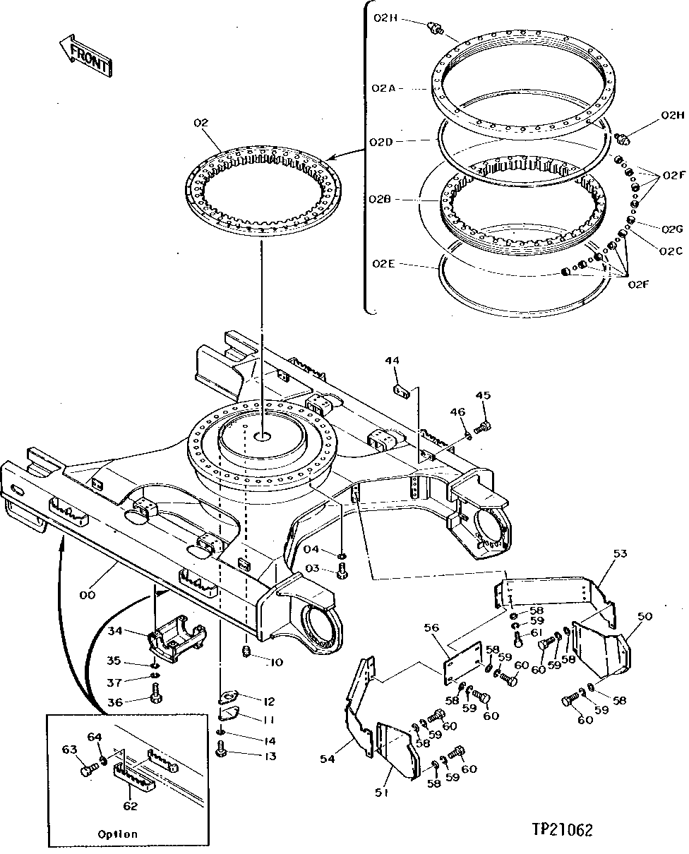
Frame

(NOT AVAILABLE FOR SERVICE)

1шт.

2

AT190770

Roller

1шт.

9154037EX

Swing Bearing

(SUB FOR AT178566)(REMAN FOR AT190770)

1шт.

2A

Bearing Race

(SUB AT190770)(OUTER)

1шт.

2B

Bearing Race

(SUB AT190770)(INNER)

1шт.

2C

4355766

Ball

(SUB FOR TH102257 OR TH103076 ) (SUB FOR AT174890)(DISCARD UNUSED BALLS)

98шт.

2D

T203958

Seal

(INNER) 4631753 NLA, (SUB FOR T19 1211 AND AT131732 ) (ALSO ORDER TY2 1517 AND AT66866 ) (SUB FOR 4199645 )

1шт.

TY21517

Adhesive

(NOT ILLUSTRATED)

ARшт.

AT66866

Fluid

(NOT ILLUSTRATED)

ARшт.

2E

T203958

Seal

4631753 NLA, (SUB FOR T191211 A ND AT131732 ) (ALSO ORDER TY21517 AND AT66866 ) (SUB FOR 4199645)

1шт.

TY21517

Adhesive

(NOT ILLUSTRATED)

ARшт.

AT66866

Fluid

(NOT ILLUSTRATED)

ARшт.

2F

4134900

Spacer

(SUB FOR TH102260)

75шт.

2G

4134901

Spacer

(SUB FOR TH102261)

15шт.

2H

TH100074

Lubrication Fitting

2шт.

3

THM122275

Bolt

(SUB FOR TH102262)

36шт.

4

12H245

Lock Washer

7/8" (SUB FOR 12H352)

36шт.

10

94-2024

Fitting Plug

(SUB FOR TH101292)

1шт.

11

4013896

Cover

(SUB FOR TH100633)

1шт.

12

4157713

Gasket

(SUB FOR 4510901 OR AT280905 OR TH102263)

1шт.

13

19M7938

Cap Screw

M10 X 20

2шт.

14

12M7066

Lock Washer

10 mm

2шт.

34

8043895

Guard

(SUB FOR TH111483)

2шт.

35

N231749

Washer

20.620 X 38.100 X 6.350 mm (SUB FOR T33089)

8шт.

36

19M7597

Cap Screw

M20 X 50

8шт.

37

12M7070

Lock Washer

20 mm

8шт.

44

4213169

Plate

(SUB FOR TH111372)

4шт.

45

19M8232

Cap Screw

M18 X 50

8шт.

46

12H236

Lock Washer

3/4"

8шт.

50

3037494

Cover

(SUB FOR TH111171)

1шт.

51

3037499

Cover

(SUB FOR TH111172)

1шт.

53

7017877

Cover

(SUB FOR TH111443)

1шт.

54

7017878

Cover

(SUB FOR TH111444)

1шт.

56

4198450

Cover

(SUB FOR TH111293)

1шт.

58

24H1748

Washer

1/2" X 1-1/4" X 0.105"

20шт.

59

12H301

Lock Washer

1/2"

20шт.

60

19M7872

Cap Screw

M12 X 25

12шт.

61

19M7753

Cap Screw

M12 X 70

8шт.

62

9720608

Step

(SUB FOR TH101366)

4шт.

63

19M8011

Cap Screw

M12 X 30

8шт.

64

12H301

Lock Washer

1/2"

8шт.

Выбрано товаров: 41