Запчасти John Deere 92DLC 106 - Cab 1810 Operator Enclosure

Схема запчастей John Deere 92DLC - 106 - Cab 1810 Operator Enclosure
FIT
1:1
100%

Артикул

Название

Примечание

Количество

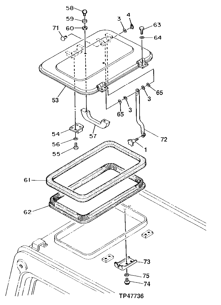
1

4289287

Knob

(SUB FOR AT130881)

1шт.

3

24M7054

Washer

6.400 X 12 X 1.600 mm

3шт.

4

M800051

Pin

(SUB FOR CH10542)

1шт.

53

4239988

Cover

(SUB FOR AT130875)

1шт.

54

4204578

Lock

(SUB FOR TH108660)

1шт.

55

21M7265

Screw

M5 X 12

4шт.

56

12M7064

Lock Washer

5 mm

4шт.

57

4204579

Handle

(SUB FOR TH108661)

1шт.

58

4204580

Bumper

(SUB FOR TH108662)

2шт.

59

4204581

Washer

5.500 X 15 X 2 mm (SUB FOR TH108663)

2шт.

60

14M7297

Nut

M5

2шт.

61

4204583

Isolator

(SUB FOR TH108664)

1шт.

62

4204582

Support

(SUB FOR TH108665)

1шт.

63

19M7865

Screw

M8 X 16

4шт.

64

12M7056

Lock Washer

8 mm (SUB FOR 12M7065)

4шт.

65

4239992

Washer

(SUB FOR AT130880)

2шт.

71

4239991

Rivet

(SUB FOR AT130879)

1шт.

72

4341195

Support

(SUB FOR AT130878)

1шт.

73

4239989

Bracket

(SUB FOR AT130876)

1шт.

74

21M7192

Screw

M8 X 16

2шт.

75

12M7056

Lock Washer

8 mm (SUB FOR 12M7065)

2шт.

80

Cab

( 4196647J NLA) (SUB FOR AT114976 (N OT ILLUSTRATED) (CONTAINS ALL ITEMS O N THIS PAGE - FOR ADDITIONAL COMPONEN TS SEE PREVIOUS AND FOLLOWING PAGES))

1шт.

Выбрано товаров: 22