Запчасти John Deere 92DLC 114 - Cab Heater ( - 010002) 1830 HEATING AND AIR CONDITIONING

Схема запчастей John Deere 92DLC - 114 - Cab Heater ( - 010002) 1830 HEATING AND AIR CONDITIONING
FIT
1:1
100%

Артикул

Название

Примечание

Количество

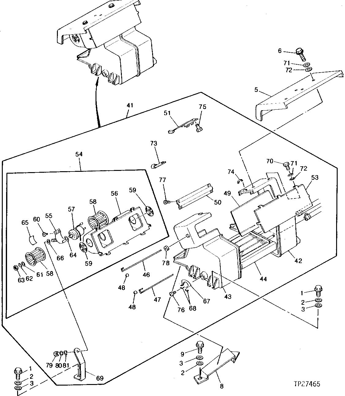
1

19M7402

Cap Screw

M10 X 25

5шт.

2

12M7066

Lock Washer

10 mm

7шт.

3

24M7028

Washer

10.500 X 20 X 2 mm

7шт.

5

7009413

Cover

SUB FOR TH101092

1шт.

6

19M7933

Cap Screw

M6 X 25

4шт.

8

2016220

Bracket

SUB FOR TH101093

1шт.

9

19M7938

Cap Screw

M10 X 20

2шт.

41

4214246

Heater

SUB FOR TH108794 OR TH112226

1шт.

42

Cage

SUB TH112226

1шт.

43

Cage

SUB TH112226

1шт.

44

Core

SUB FOR TH101676; TH110 251 NO LONGER AVAILABLE

1шт.

46

Shaft

TH101677 NO LONGER AVAILABLE

1шт.

47

Shaft

TH101678 NO LONGER AVAILABLE

1шт.

48

Knob

TH101679 NO LONGER AVAILABLE

2шт.

49

Torsional Damper

TH101680 NO LONGER AVAILABLE

1шт.

50

Torsional Damper

TH101681 NO LONGER AVAILABLE

1шт.

51

0228114

Resistor

SUB FOR TH101682

1шт.

53

Cover

TH101683 NO LONGER AVAILABLE

1шт.

54

Case

TH101684 NO LONGER AVAILABLE

1шт.

55

Cover

TH101685 NO LONGER AVAILABLE

1шт.

56

Housing

1шт.

57

0228120

Blower Motor

SUB FOR TH101687

1шт.

58

Fan

SUB FOR TH101688; 0228 121 NO LONGER AVAILABLE

2шт.

59

0228122

Grille

SUB FOR TH101689

2шт.

60

0311501

Screw

SUB FOR TH108795

2шт.

61

0311502

Washer

SUB FOR TH108796

2шт.

62

0311503

Washer

SUB FOR TH108797

2шт.

63

14M7297

Nut

M5

2шт.

64

R48698

Washer

SUB FOR TH108798 OR 0311504

2шт.

65

Cushion

TH108800 NO LONGER AVAILABLE

1шт.

66

0311506

Torsional Damper

SUB FOR TH108801

1шт.

67

Guide

TH101690 NO LONGER AVAILABLE

1шт.

68

0228124

Spring

SUB FOR TH101691

2шт.

69

4080636

Bracket

SUB FOR TH101086

1шт.

70

19M7300

Cap Screw

M6 X 10

6шт.

71

12M7006

Lock Washer

6 mm

10шт.

72

24M7054

Washer

6.400 X 12 X 1.600 mm SUB FOR TH100278

10шт.

73

0311507

Clip

SUB FOR TH108802

2шт.

74

0311508

Clamp

SUB FOR TH108803

8шт.

75

0311509

Screw

SUB FOR TH108804

2шт.

76

0311510

Screw

SUB FOR TH108805

2шт.

77

0311511

Screw

M3 X 8 SUB FOR TH108806

5шт.

78

GX10434

Nut

SUB FOR TH108807 OR 0311512

1шт.

79

14M7273

Nut

M8

1шт.

80

12M7056

Lock Washer

8 mm SUB FOR 12M7065

1шт.

81

24M7055

Washer

8.400 X 16 X 1.600 mm

1шт.

Выбрано товаров: 46