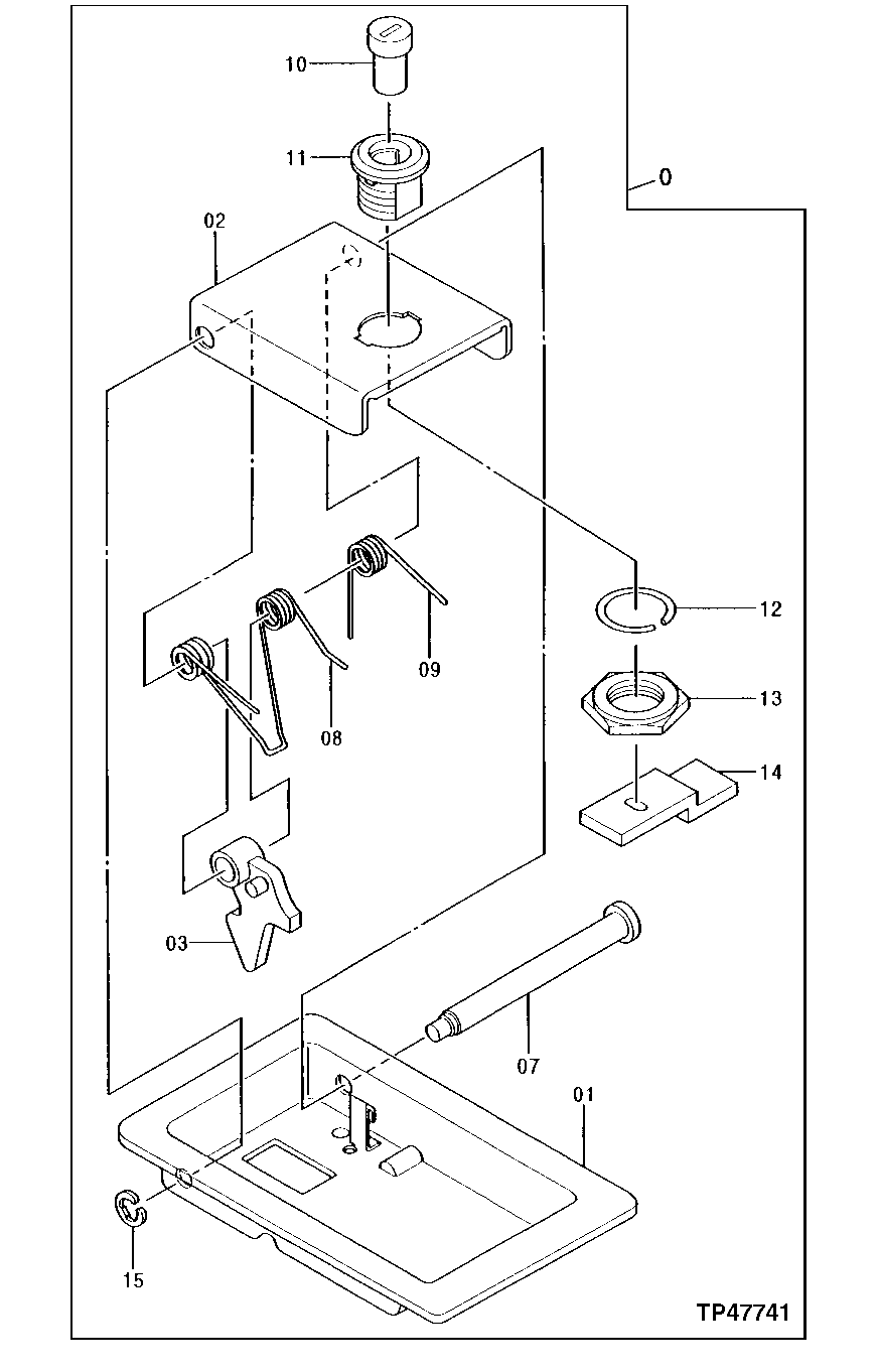
Запчасти John Deere 92DLC 123 - DOOR LOCK 1910 Hood Or Engine Enclosure

Схема запчастей John Deere 92DLC - 123 - DOOR LOCK 1910 Hood Or Engine Enclosure
FIT
1:1
100%

Артикул

Название

Примечание

Количество

0

Lock

(SUB AT214010)( AT206088 NOT AVAILABLE FOR SERVICE)

1шт.

1

8024490

Cover

(SUB FOR TH102241)

1шт.

2

4355969

Latch

(SUB FOR TH102242)

1шт.

3

Lever

1шт.

7

4355972

Pin Fastener

(SUB FOR TH102230)

1шт.

8

4134319

Torsion Spring

(SUB FOR TH102233)

1шт.

9

4355974

Torsion Spring

(SUB FOR TH102243)

1шт.

10

Lock

1шт.

11

4134325

Lock

(SUB FOR TH102236)

1шт.

12

4355979

Ring

(SUB FOR TH102237, 4134322)

1шт.

13

4355980

Nut

(SUB FOR TH102238, 4134323)

1шт.

14

4355981

Strap

(SUB FOR TH102232, 4134331)

1шт.

15

CH11490

Ring

1шт.

Выбрано товаров: 13