Запчасти John Deere 92DLC 128 - PUMP DEVICE 2160 HYDRAULIC SYSTEM

Схема запчастей John Deere 92DLC - 128 - PUMP DEVICE 2160 HYDRAULIC SYSTEM
FIT
1:1
100%

Артикул

Название

Примечание

Количество

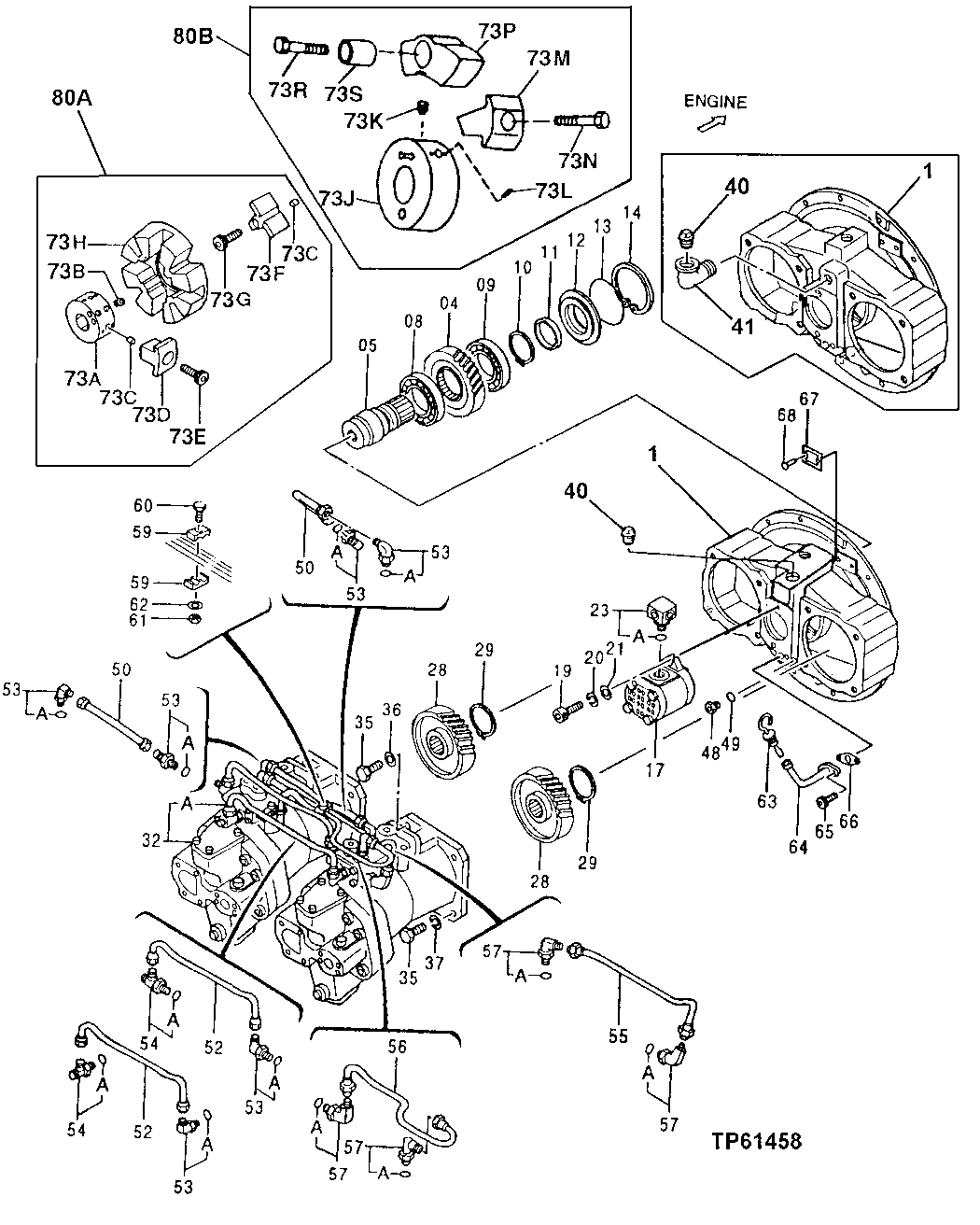
1

T200649

Helical Gear

(SUB FOR AT200957 OR 3035853)

1шт.

4

3035852

Gear

(SUB FOR TH111138)

1шт.

5

3081085

Pinion Shaft

(SUB FOR AT219648)(SUB FOR 303809 0, ALONG WITH M804206 AND 4395457)

1шт.

8

M804206

Bearing

(SUB FOR TH101792 ) (SUB FOR AT250102)

1шт.

9

4720025

Ball Bearing

(SUB FOR JD9320, THIS APPLICATIO N ) (SUB FOR AT250103AND 4395457)

1шт.

10

40M7120

Snap Ring

1шт.

11

TH109453

Seal

1шт.

12

3033593

Cover

(SUB FOR TH109454)

1шт.

13

AT264339

O-Ring

(SUB FOR TH100122)

1шт.

14

40M5463

Snap Ring

(SUB FOR 40M7178)

1шт.

17

9217993

Pump

(SUB FOR TH109457 AND 4181700)

1шт.

19

19M8337

Screw

M10 X 30

2шт.

20

12M7135

Lock Washer

10 mm (SUB FOR 12M6791)

2шт.

21

24M7028

Washer

10.500 X 20 X 2 mm

2шт.

23

4191974

Adapter Fitting

(SUB FOR TH109459)

1шт.

23A

4506418

O-Ring

17.800 X 2.400 mm (SUB FOR U46489)

1шт.

28

T200649

Helical Gear

(SUB FOR TH111139 OR 3035853)

2шт.

29

40M7166

Snap Ring

2шт.

32

9077555EX

Hydraulic Pump Reman

(USE IF AVAILABLE) (IF 9077555 EX NOT AVAILABLE, SUB AT217339)

1шт.

9077555EX

Hydraulic Pump Reman

(REMAN FOR 9077555 AND AT205808)

2шт.

32A

9077557

Regulator

(SUB FOR AT205809)

1шт.

35

19M7489

Cap Screw

M16 X 45

8шт.

36

4126090

Sealing Washer

(SUB FOR TH109463)

4шт.

37

12H294

Lock Washer

5/8"

4шт.

40

4234782

Plug

(SUB FOR AT200990)

1шт.

41

15H621

Elbow Fitting

3/4"

1шт.

48

4336167

Fitting Plug

(SUB FOR AT206055)

1шт.

49

CH11570

O-Ring

13.800 X 2.400 mm

1шт.

Выбрано товаров: 28