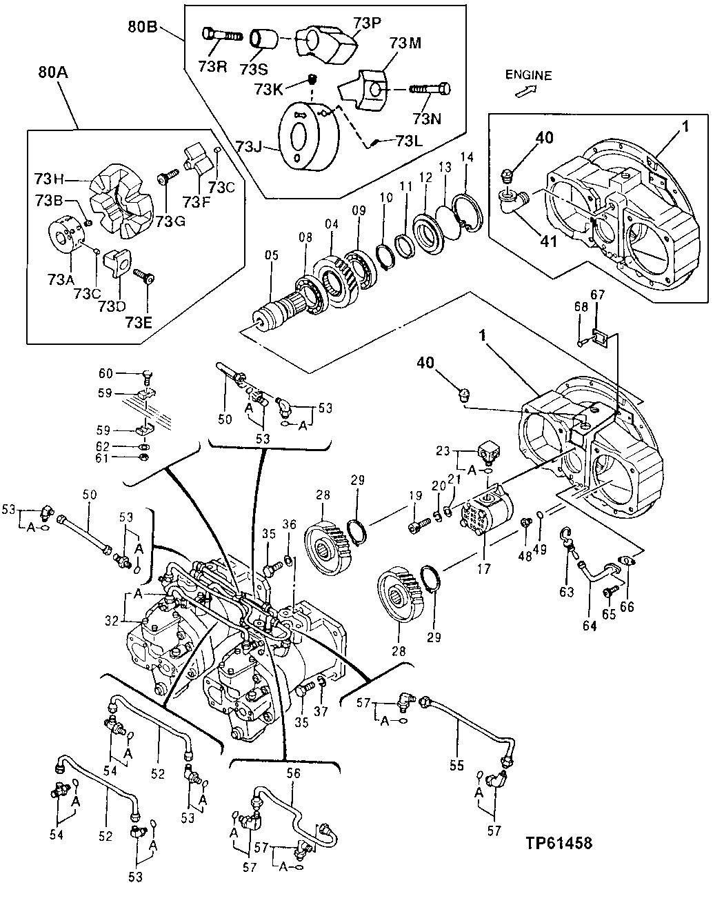
Запчасти John Deere 92DLC 129 - PUMP DEVICE 2160 HYDRAULIC SYSTEM

Схема запчастей John Deere 92DLC - 129 - PUMP DEVICE 2160 HYDRAULIC SYSTEM
FIT
1:1
100%

Артикул

Название

Примечание

Количество

50

4192946

Oil Line

SUB FOR TH111242

2шт.

52

4192947

Oil Line

SUB FOR TH111243

2шт.

53

4293950

Fitting

SUB FOR TH109468 OR AT160584

6шт.

53A

M800650

Packing

1шт.

54

4203485

Fitting

SUB FOR TH109466

2шт.

54A

M800650

Packing

1шт.

55

3036249

Oil Line

SUB FOR TH111142

1шт.

56

3036486

Oil Line

SUB FOR TH111155

1шт.

57

4118499

Elbow Fitting

SUB FOR TH101821

4шт.

57A

M800650

Packing

1шт.

59

4179843

Clamp

SUB FOR TH109471

2шт.

60

19M7377

Cap Screw

M8 X 28

1шт.

61

14M7273

Nut

M8

1шт.

62

12M7056

Lock Washer

8 mm SUB FOR 12M7065

1шт.

63

4721548

Gauge

SUB FOR TH112088 AND 4242263

1шт.

64

4242262

Oil Tube

SUB FOR TH112089

1шт.

65

19M7932

Cap Screw

M8 X 16

2шт.

66

9742779

Gasket

SUB FOR TH112091; SUB FOR AT214401

1шт.

67

Identification Plate

NOT AVAILABLE FOR SERVICE

1шт.

68

37H99

Screw

0.100" X 1/4"

2шт.

73A

Hub

SUB 4118705

1шт.

73B

22M7137

Set Screw

M16 X 16

2шт.

73C

34M7117

Spring Pin

5 X 10 mm

12шт.

73D

4183167

Insert

SUB FOR TH106373

4шт.

73E

T108085

Cap Screw

4шт.

73F

4183166

Insert

SUB FOR TH109475

4шт.

73G

T108085

Cap Screw

4шт.

73H

4183165

Coupling

1шт.

73J

Hub

SUB 4118705

1шт.

73K

22M7138

Set Screw

M20 X 25

2шт.

73L

34M7160

Spring Pin

8 X 16 mm

8шт.

73M

Insert

4183175 NLA; SUB FOR TH106378

4шт.

73N

4183177

Screw

SUB FOR TH106381

4шт.

73P

4183173

Insert

SUB FOR TH103493

4шт.

73R

4183176

Screw

SUB FOR TH106380

4шт.

73S

4183174

Bushing

SUB FOR TH106379

1шт.

80A

Coupling

SUB 4118705; TH109474 N OT AVAILABLE FOR SERVICE

1шт.

80B

4118705

Coupling

1шт.

Выбрано товаров: 38