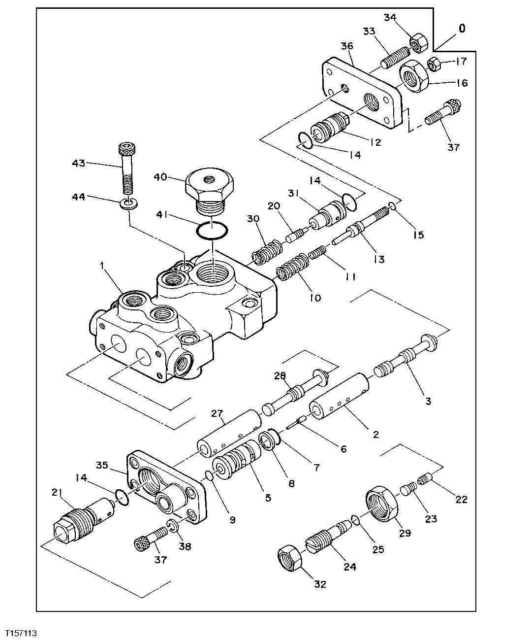
Запчасти John Deere 92DLC 131 - Regulator 2160 HYDRAULIC SYSTEM

Схема запчастей John Deere 92DLC - 131 - Regulator 2160 HYDRAULIC SYSTEM
FIT
1:1
100%

Артикул

Название

Примечание

Количество

0

9077557

Regulator

(SUB FOR AT205809)

1шт.

1

Regulator

1шт.

2

4179155

Sleeve

(SUB FOR TH109892)

1шт.

3

4179156

Spool

(SUB FOR TH109893)

1шт.

5

4194171

Cylinder

(SUB FOR AT204934)

1шт.

6

4194172

Piston

(SUB FOR AT204935)

1шт.

7

TH102560

O-Ring

15.800 X 2.400 mm

1шт.

8

4085607

Back-Up Ring

(SUB FOR TH102562)

1шт.

9

CH11560

Packing

1шт.

10

4179159

Compression Spring

(SUB FOR AT205765)

1шт.

11

4244094

Compression Spring

(SUB FOR AT205771)

1шт.

12

4179161

Stop

(SUB FOR TH109898)

1шт.

13

4368619

Stop

(SUB FOR TH109899)

1шт.

14

4506416

O-Ring

15.800 X 2.400 mm (SUB FOR TH102561)

3шт.

15

CH11560

Packing

1шт.

16

4068898

Nut

M20 (SUB FOR TH102567)

1шт.

17

14M7273

Nut

M8

1шт.

20

4179171

Piston

(SUB FOR TH109911)

1шт.

21

4185668

Cylinder

(SUB FOR TH109901)

1шт.

22

4185669

Piston

(SUB FOR TH109902)

1шт.

23

4179165

Piston

(SUB FOR TH109903)

1шт.

24

4179166

Stop

(SUB FOR TH109904)

1шт.

25

4506408

O-Ring

7.800 X 1.900 mm (SUB FOR TH101490)

1шт.

27

4185665

Sleeve

(SUB FOR TH109907)

1шт.

28

4185666

Spool

(SUB FOR TH109908)

1шт.

29

4179167

Nut

M27 (SUB FOR TH109905)

1шт.

30

4194179

Spring

(SUB FOR TH109909)

1шт.

31

4179170

Cylinder

(SUB FOR TH109910)

1шт.

32

4179168

Nut

M16 (SUB FOR TH109906)

1шт.

33

22M7098

Set Screw

M10 X 25 (SUB FOR AT201005 OR 4265964)

1шт.

34

14M7274

Nut

M10

1шт.

35

4194175

Cover

(SUB FOR AT204936)

1шт.

36

4433327

Cover

(SUB FOR TH109913)

1шт.

37

19M8446

Screw

M8 X 20

8шт.

38

4514388

Spring Washer

(SUB FOR TH101835)

4шт.

40

4179174

Fitting Plug

(SUB FOR TH109914)

1шт.

41

TH101926

O-Ring

28.700 X 3.500 mm

1шт.

43

19M8339

Screw

M10 X 55

4шт.

44

12M7135

Lock Washer

10 mm (SUB FOR 12M6791)

4шт.

Выбрано товаров: 39