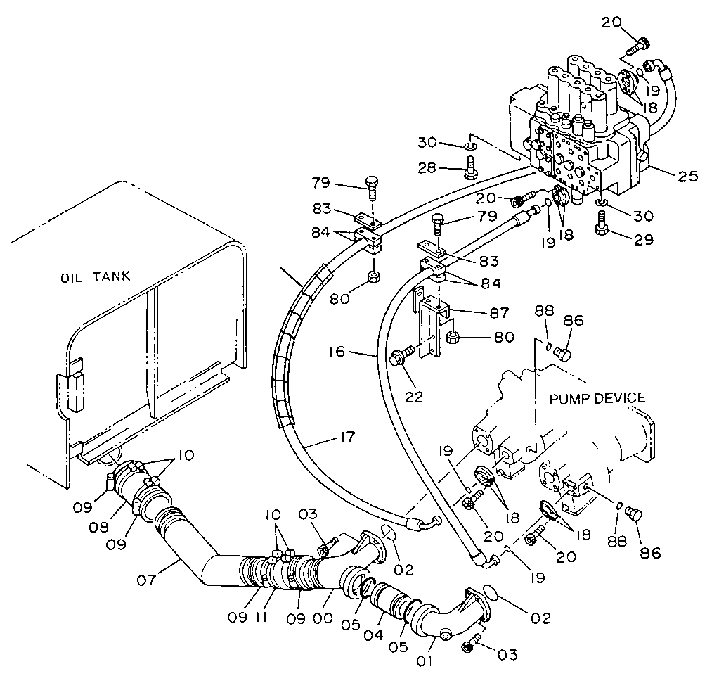
Запчасти John Deere 92DLC 133 - OIL COOLER PIPINGS 2160 HYDRAULIC SYSTEM

Схема запчастей John Deere 92DLC - 133 - OIL COOLER PIPINGS 2160 HYDRAULIC SYSTEM
FIT
1:1
100%

Артикул

Название

Примечание

Количество

0

2023451

Manifold

(SUB FOR TH111123)

1шт.

1

2023450

Manifold

(SUB FOR TH111122)

1шт.

2

TH105684

O-Ring

74.400 X 3.100 mm

2шт.

3

19M8168

Screw

M12 X 25

8шт.

4

3036667

Oil Line

(SUB FOR TH111168)

1шт.

5

T111314

O-Ring

74.600 X 5.700 mm

2шт.

7

8064192

Line

(SUB FOR AT205797)

1шт.

8

4193871

Hose

(SUB FOR TH111257)

1шт.

9

TY22476

Clamp

(SUB FOR AT145652)

4шт.

10

AT133185

Clamp

4шт.

11

4215941

Hose

(SUB FOR AT205847)

1шт.

16

AT205767

Hydraulic Hose

1шт.

4372757

Hydraulic Hose

(SUB FOR AT177426)

1шт.

17

AT205768

Hydraulic Hose

1шт.

18

4085560

Flange Fitting

(SUB FOR TH101960)

8шт.

19

T78313

O-Ring

32.920 X 3.530 mm

4шт.

20

19M8341

Screw

M12 X 45

16шт.

21

Hose Guard

(MAKE FROM XHG-075, BULK MATERIAL, CUT TO LENGTH) (SUB FOR AT138222)

1шт.

22

12H301

Lock Washer

1/2"

2шт.

24M7047

Washer

13 X 24 X 2.500 mm

2шт.

19M7403

Cap Screw

M12 X 35

2шт.

25

4224898

Hyd Actuated Control Valve

(SUB FOR AT205874, AT186103 AND 4224898EX)

1шт.

28

19M8035

Cap Screw

M16 X 35

2шт.

29

19M7488

Cap Screw

M16 X 40

2шт.

30

12H294

Lock Washer

5/8"

4шт.

79

19M8183

Cap Screw

M10 X 90

4шт.

80

14M7274

Nut

M10

4шт.

83

4195494

Plate

(SUB FOR TH109533)

2шт.

84

4194953

Clamp

(SUB FOR TH109532)

4шт.

86

4211432

Plug

(SUB FOR AT200989)

2шт.

87

Support

(NOT AVAILABLE FOR SERVICE)

1шт.

88

AT318035

O-Ring

(SUB FOR 4506424, TH100055)

2шт.

Выбрано товаров: 32