Запчасти John Deere 92DLC 7 - Track Link 0130 TRACKS SYSTEMS

Схема запчастей John Deere 92DLC - 7 - Track Link 0130 TRACKS SYSTEMS
FIT
1:1
100%

Артикул

Название

Примечание

Количество

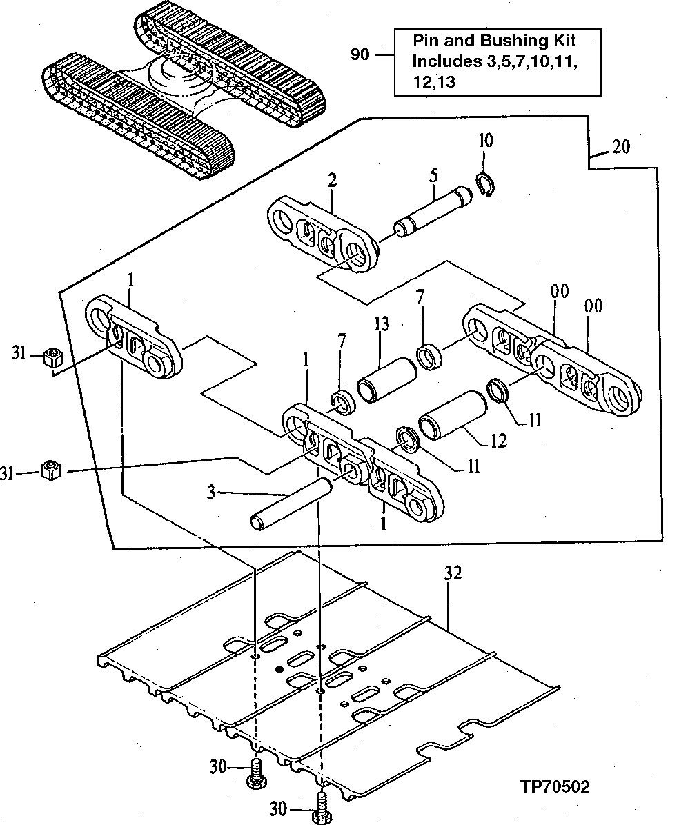
0

AT159075

Link

49шт.

1

AT159076

Link

50шт.

2

AT159077

Link

(MASTER)

1шт.

3

AT130913

Pin Fastener

(K) 44.450 X 245 mm (QUAN TITY OF 45 PROVIDED IN KIT)

49шт.

5

AT159078

Master Track Pin

(K) (MASTER - NON HEADED PIN)

1шт.

7

AT159079

Bushing

(K) 45.100 X 66.700 X 13.500 mm

2шт.

10

T210813

Snap Ring

(K) (SUB FOR TH111227)

1шт.

11

FFSB112367

Seal

(K) (SUB FOR 4350562 OR AT171645 )(QUANTITY OF 92 PROVIDED IN KIT)

98шт.

12

TH103167

Bushing

(K) 45.250 X 66.650 X 158 mm ( QUANTITY OF 45 PROVIDED IN KIT)

49шт.

13

AT159080

Bushing

(K) 45.150 X 66.550 X 148.800 mm (MASTER)

1шт.

20

AT317804

Track Chain W/O Shoes

(SUB FOR AT159074, AT186168 OR 9180909)

1шт.

30

4143721

Bolt

(SUB FOR TH103173)

200шт.

31

3060205

Nut

M20 (SUB FOR T144338)

200шт.

32

2017537

Open Center 3 Bar Shoe

(SUB FOR TH103174)(600 MM - 24 INCH)

50шт.

2016578

Open Center 3 Bar Shoe

(SUB FOR TH103265)(800 MM - 31 INCH)

50шт.

90

Pin & Bushing Kit

(SUB FOR AT187186)

1шт.

Выбрано товаров: 16