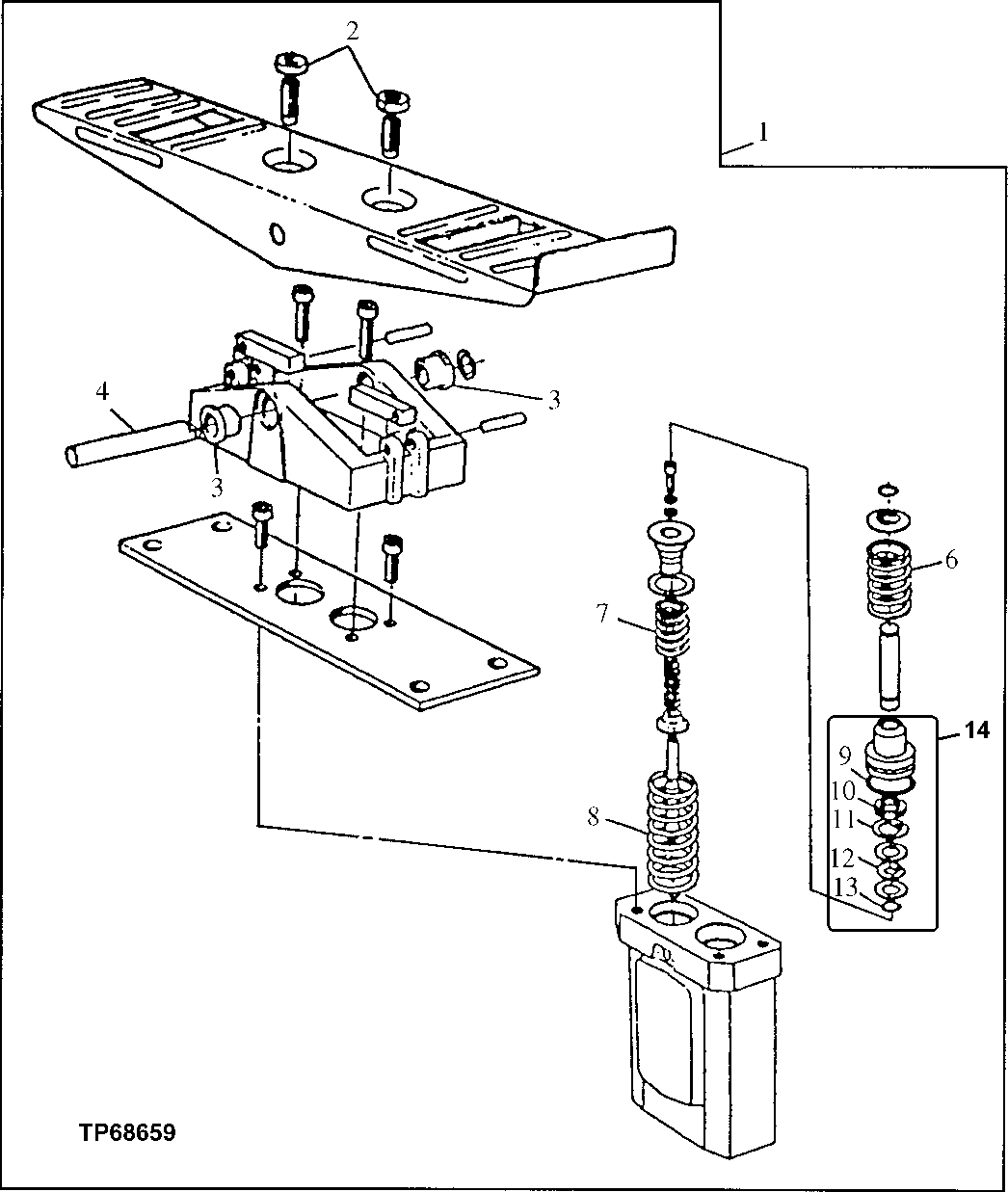
Запчасти John Deere 92DLC 165 - Auxiliary Foot Control Valve 3315 Controls Linkage

Схема запчастей John Deere 92DLC - 165 - Auxiliary Foot Control Valve 3315 Controls Linkage
FIT
1:1
100%

Артикул

Название

Примечание

Количество

1

AT152120

Valve

WHOLEGOODS

1шт.

2

14M7151

Nut

M8

2шт.

3

T139695

Bushing

2шт.

4

T139696

Shaft

1шт.

6

T139694

Spring

2шт.

7

T139693

Spring

2шт.

8

T114617

Spring

2шт.

9

Seal

1шт.

10

Seal

1шт.

11

Snap Ring

1шт.

12

Snap Ring

1шт.

13

O-Ring

1шт.

14

AT115146

Seal Kit

1шт.

Выбрано товаров: 13