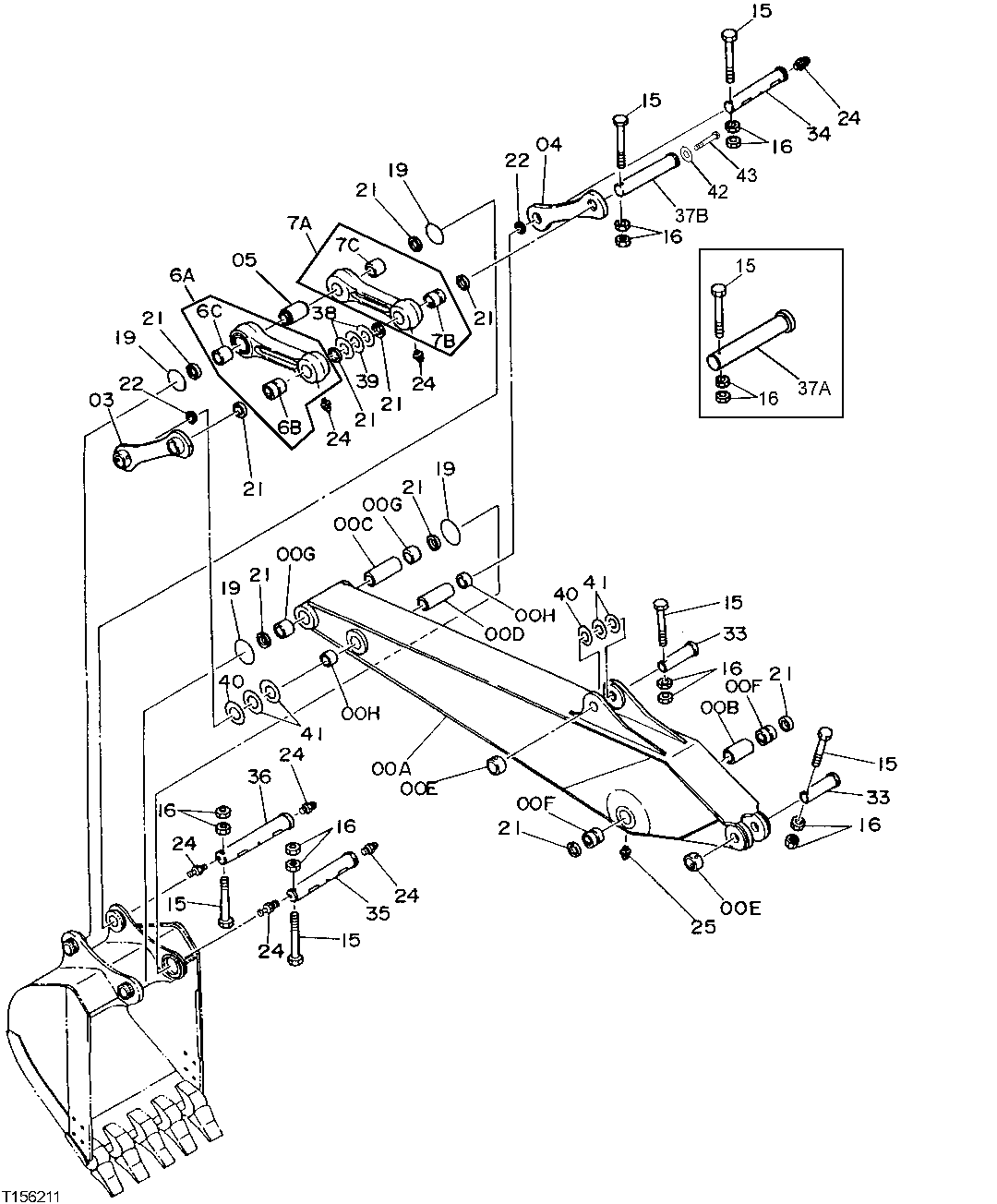
Запчасти John Deere 92DLC 166 - STD. ARM 3.1M 3340 BACKHOE AND EXCAVATOR FRAMES

Схема запчастей John Deere 92DLC - 166 - STD. ARM 3.1M 3340 BACKHOE AND EXCAVATOR FRAMES
FIT
1:1
100%

Артикул

Название

Примечание

Количество

0A

AT172972

Arm

WHOLEGOODS (NOT ILLUSTRATED) (CONTAINS ITEMS 0A THRU 0H)

1шт.

0B

4170858

Spacer

(SUB FOR AT205829)

1шт.

0C

4144379

Spacer

95.200 X 101.600 X 255 mm (SUB FOR TH102430)

1шт.

0D

4067989

Spacer

(SUB FOR AT205827)

1шт.

0E

4067719

Pivot

(SUB FOR TH102410)

2шт.

0F

3054062

Bushing

(SUB FOR TH109801)

2шт.

0G

TH109802

Bushing

90 X 105 X 70 mm

2шт.

0H

T139496

Bushing

80 X 95 X 70 mm

2шт.

3

8040334

Link

(SUB FOR AT205906)

1шт.

4

3040205

Link

(SUB FOR AT205823)

1шт.

5

4155351

Pin Fastener

(SUB FOR TH102439)

1шт.

6A

8038660

Link

(SUB FOR AT205901)

1шт.

6B

AT205821

Bushing

1шт.

6C

TH109807

Bushing

90 X 105 X 100 mm

1шт.

7A

8038661

Link

(SUB FOR AT205902)

1шт.

7B

AT205821

Bushing

1шт.

7C

TH109807

Bushing

90 X 105 X 100 mm

1шт.

15

19M8503

Cap Screw

M20 X 160

6шт.

16

14M7277

Nut

M20

12шт.

19

4089028

O-Ring

(STANDARD O-RING)

4шт.

AT349466

Seal

(SPLIT O-RING)

4шт.

T379473

V-Ring Seal

V O-Ring

4шт.

21

TH102445

Seal

10шт.

22

TH102446

Seal

2шт.

24

TH100074

Lubrication Fitting

7шт.

25

T116334

Lubrication Fitting

2шт.

33

TH111794

Pin Fastener

80 X 290 mm

2шт.

34

AT205819

Pin

1шт.

35

TH110235

Pin Fastener

1шт.

36

AT205824

Pin

1шт.

37A

DH300121

Pin

(SUB FOR AT205820 ) (SUB AT19 6434 AND T138902 AND 19M7608)

1шт.

37B

AT196434

Pin Fastener

(SUB FOR AT205820, DH300121)

1шт.

38

4361177

Washer

(SUB FOR TH106309 ) (SUB FOR AT214005)

2шт.

39

4189837

Washer

91 X 145 X 2.300 mm (SUB FOR TH106310)

1шт.

40

4367409

Thrust Washer

(SUB FOR TH104297, THIS APPL ICATION ) (SUB FOR AT214039)

2шт.

41

4366691

Thrust Washer

(SUB FOR TH104296, THIS APPL ICATION ) (SUB FOR AT214029)

4шт.

42

T138902

Bushing

(FOR USE WITH AT196434)

1шт.

43

19M8029

Cap Screw

M16 X 30 (SUB FOR 19M760 8)(FOR USE WITH AT196434)

1шт.

50

AT176018

Arm

WHOLEGOODS (INCLUDES STANDARD ARM, BUCK ET CYLINDER AND LINKAGE) (NOT ILLUSTRATE D) (CONTAINS ALL ITEMS ON THIS PAGE - AD DITIONAL COMPONENTS LISTED ON OTHER PAGE S)

1шт.

Выбрано товаров: 39