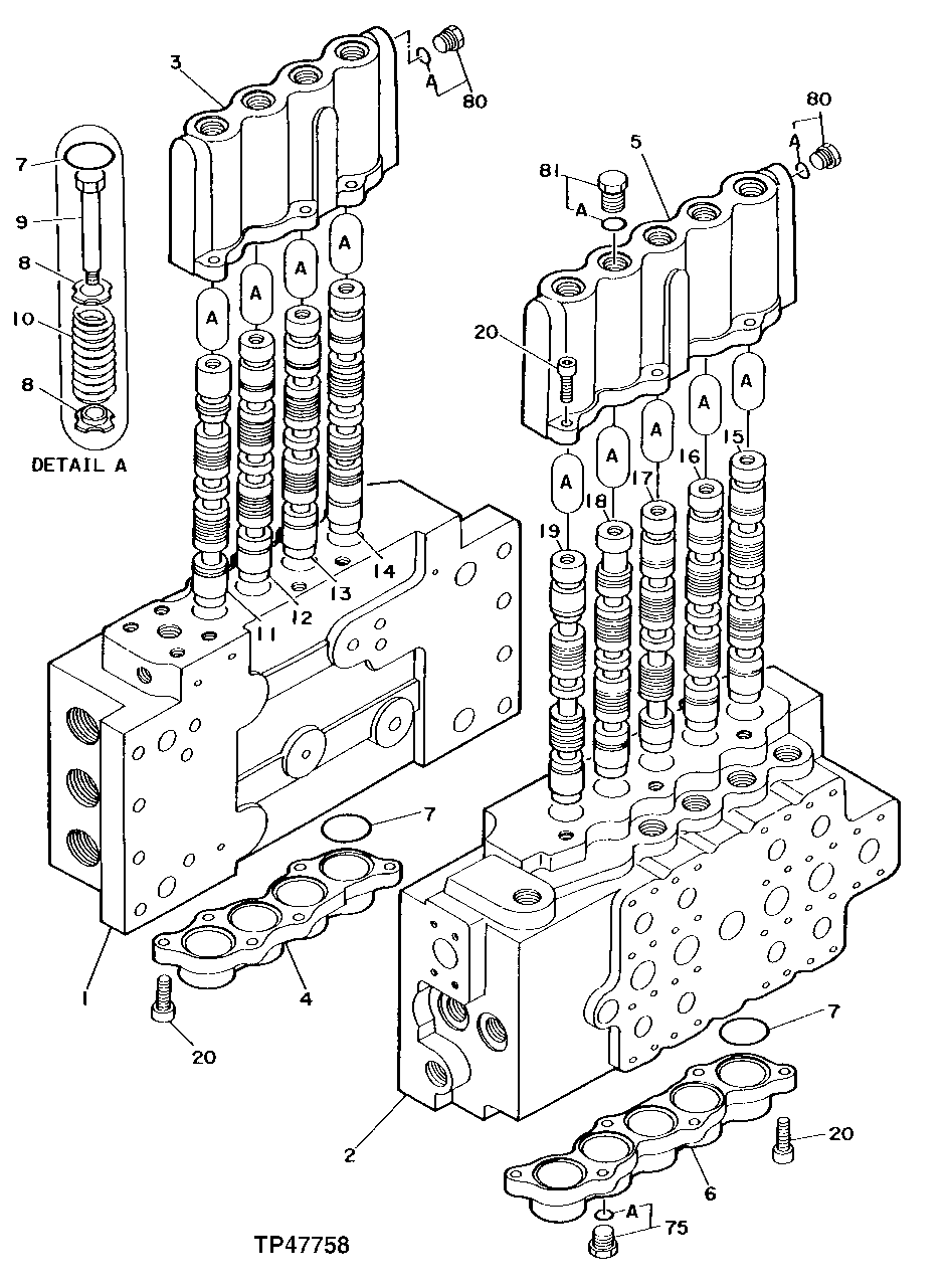
Запчасти John Deere 92DLC 170 - Control Valve 3360 HYDRAULIC SYSTEM

Схема запчастей John Deere 92DLC - 170 - Control Valve 3360 HYDRAULIC SYSTEM
FIT
1:1
100%

Артикул

Название

Примечание

Количество

0

4224898

Hyd Actuated Control Valve

(NOT ILLUSTRATED) (CONTAINS ALL ITE MS ON THIS PAGE, ADDITIONAL COMPONEN TS LISTED ON FOLLOWING PAGES) (SUB F OR AT205874, AT186103 AND 4224898EX)

1шт.

1

Housing

(SUB 4224898)

1шт.

2

Housing

(SUB 4224898)

1шт.

3

0309701

Cap

(SUB FOR TH109964)

1шт.

4

0309702

Cap

(SUB FOR TH109965)

1шт.

5

0309703

Cap

(SUB FOR TH109966)

1шт.

6

0309704

Cap

(SUB FOR TH109967)

1шт.

7

CH14701

O-Ring

18шт.

8

0306003

Plate

(SUB FOR TH109968)

18шт.

9

0306005

Screw

(SUB FOR TH109969)

9шт.

10

0309705

Spring

(SUB FOR TH109970)

9шт.

11

Spool

1шт.

12

Spool

1шт.

13

Spool

1шт.

14

Spool

1шт.

15

Spool

1шт.

16

Spool

1шт.

17

Spool

1шт.

18

Spool

1шт.

19

Spool

1шт.

20

19M8337

Screw

M10 X 30

24шт.

75

0218607

Pipe Plug

(INCLUDES 4297380, SUB FOR TH109998)

1шт.

75A

4297380

O-Ring

1шт.

80

0309731

Fitting Plug

(SUB FOR TH110002)

2шт.

80A

M800650

Packing

1шт.

81

0332914

Drain Plug

(SUB FOR TH110315)

1шт.

81A

CH11570

O-Ring

1шт.

Выбрано товаров: 27