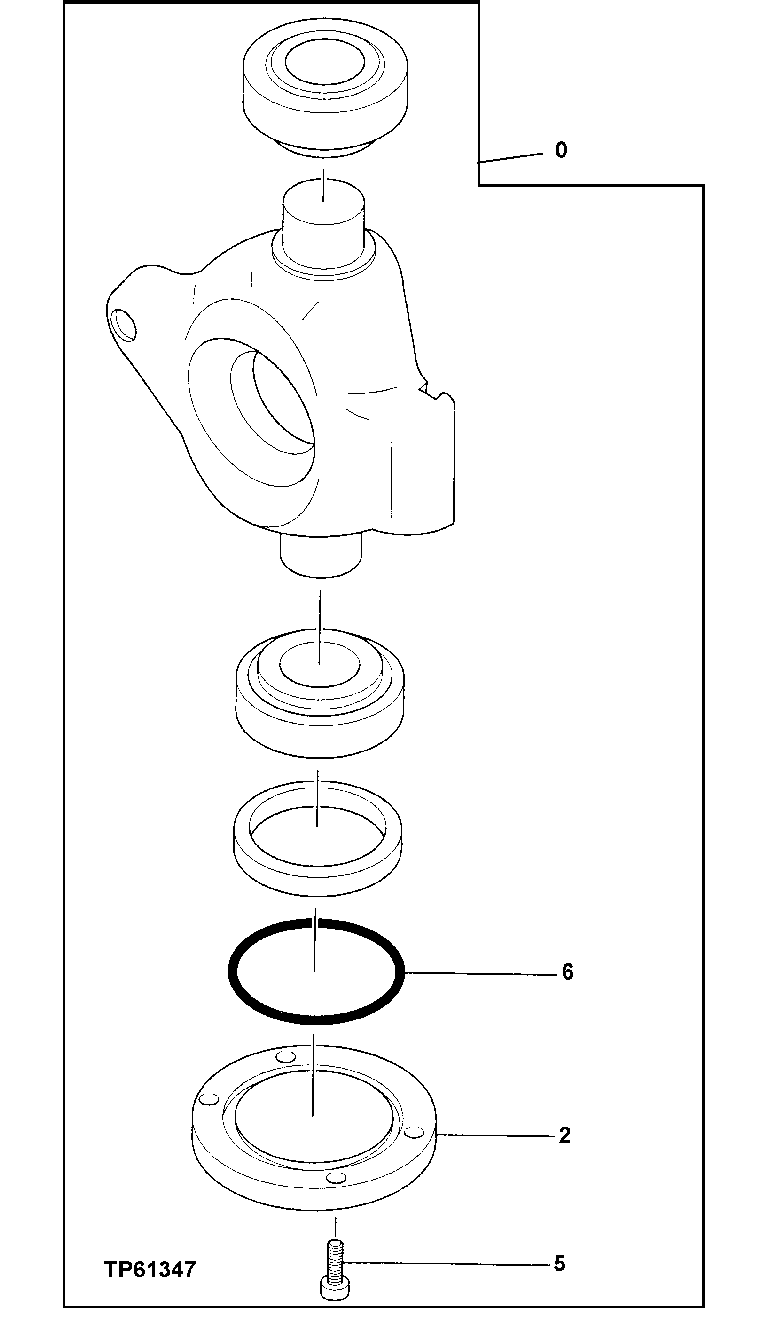
Запчасти John Deere 0 120 - Hydraulic Pump Mounting 2160 Vehicle Hydraulics

Схема запчастей John Deere 0 - 120 - Hydraulic Pump Mounting 2160 Vehicle Hydraulics
FIT
1:1
100%

Артикул

Название

Примечание

Количество

0

AT185235

Hydraulic Pump Reman

(SUB FOR AP35930) (CONTAINS ALL ITEMS ON THIS PAGE - ADDITIONAL COMPONENTS LISTED ON PREVIOUS AND FOLLOWING PAGES )

1шт.

2

0640501

Ring

(SUB FOR AT250501)

1шт.

5

0640502

Screw

(SUB FOR AT250502)

4шт.

6

0640503

O-Ring

(SUB FOR AT250503)

1шт.

Выбрано товаров: 0