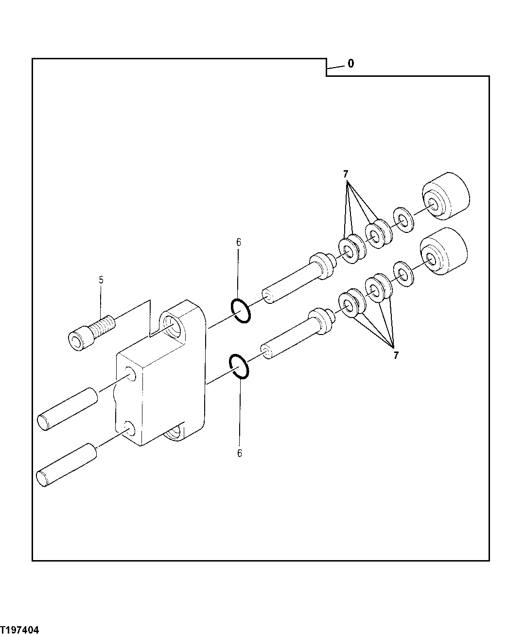
Запчасти John Deere 0 123 - MAIN HYDRAULIC PUMP PISTON ASSEMBLY 2160 Vehicle Hydraulics

Схема запчастей John Deere 0 - 123 - MAIN HYDRAULIC PUMP PISTON ASSEMBLY 2160 Vehicle Hydraulics
FIT
1:1
100%

Артикул

Название

Примечание

Количество

0

4373709

Hydraulic Pump

1шт.

AT185235

Hydraulic Pump Reman

(REMAN FOR 4373709) (MARKED AP35930) (NOT ILLUSTRATED) (CONTAINS ALL ITEMS ON THIS PAGE - ADDITIONAL COMPONENTS L ISTED ON PREVIOUS AND FOLLOWING PAGES)

1шт.

5

Screw

(SUB FOR TH101554) ( 0215615 NLA)

2шт.

19M8337

Screw

M10 X 30

2шт.

6

4506416

O-Ring

15.800 X 2.400 mm (0.622" X 3/32") (SUB FOR TH102561)

2шт.

7

0713701

Spring

8шт.

Выбрано товаров: 6