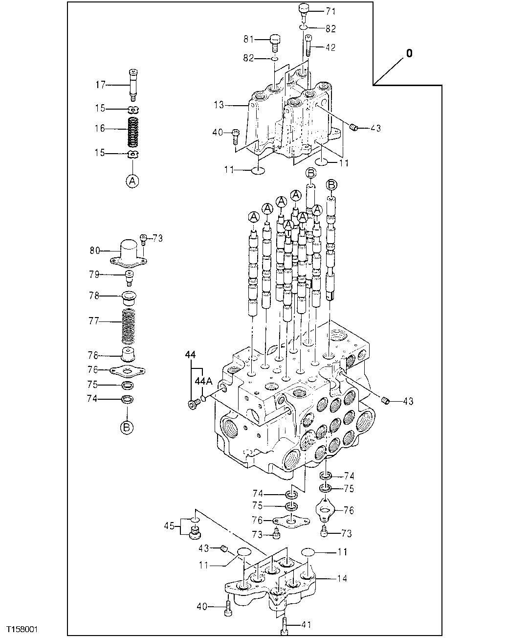
Запчасти John Deere 0 168 - CONTROL VALVE COMPONENTS (TOP AND BOTTOM COVERS, SPOOLS) 3360 Hydraulic System

Схема запчастей John Deere 0 - 168 - CONTROL VALVE COMPONENTS (TOP AND BOTTOM COVERS, SPOOLS) 3360 Hydraulic System
FIT
1:1
100%

Артикул

Название

Примечание

Количество

0

4368270

Hyd Actuated Control Valve

(WITHOUT OFFSET BOOM) (SUB FOR AP35928 ( CONTAINS ALL ITEMS ON THIS PAGE - ADDITIO NAL COMPONENTS LISTED ON FOLLOWING PAGES) )

1шт.

4401863

Hyd Actuated Control Valve

(WITH OFFSET BOOM) (ADDITION AL COMPONENTS ON OTHER PAGES)

1шт.

11

CH17653

Packing

14шт.

13

0714401

Housing

(SUB FOR AT250523)

1шт.

14

0714402

Housing

(SUB FOR AT250524)

1шт.

15

0332904

Retainer

(SUB FOR TH110305)

14шт.

16

0332905

Spring

(SUB FOR TH110306)

7шт.

17

0714403

Holder

(SUB FOR AT250525)

7шт.

40

19M7603

Screw

M6 X 20

14шт.

12M7006

Lock Washer

6 mm

14шт.

24M7105

Washer

6 X 12 X 1.600 mm

14шт.

41

T115409

Bolt

M6 X 32

2шт.

42

0714404

Screw

(SUB FOR AT250526)

2шт.

43

94-2010

Fitting Plug

(SUB FOR TH100689)

4шт.

44

0667713

Fitting Plug

(SUB FOR AT213660)

2шт.

44A

4506408

O-Ring

(SUB FOR TH101490)

1шт.

45

0689405

Fitting Plug

(SUB FOR AT250517)

1шт.

71

0714405

Fitting Plug

(SUB FOR AT250527)

1шт.

73

0209423

Bolt

(SUB FOR TH100738)

8шт.

74

0225202

Seal

(SUB FOR TH105747)

4шт.

75

0225203

Seal

(SUB FOR TH105748)

4шт.

76

0332901

Plate

(SUB FOR TH110302)

4шт.

77

0225208

Spring

(SUB FOR TH105753)

2шт.

78

0225205

Retainer

(SUB FOR TH105750)

4шт.

79

0225201

Cap Screw

(SUB FOR TH106840)

2шт.

80

0332902

Cap

(SUB FOR TH110303)

2шт.

81

0714406

Fitting Plug

(SUB FOR AT250528)

2шт.

82

M800650

Packing

3шт.

Выбрано товаров: 28