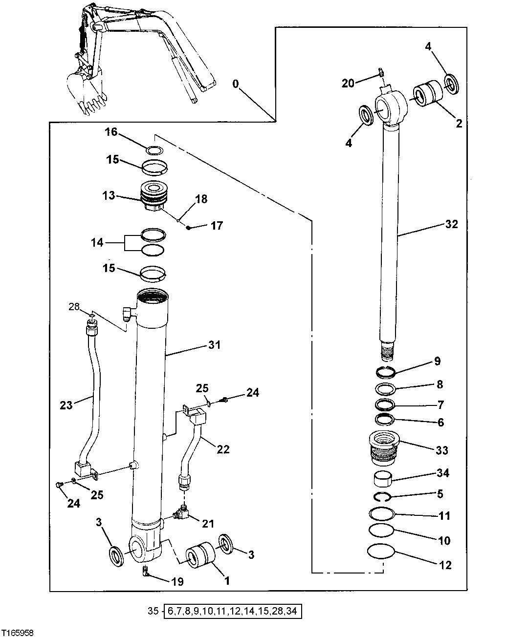
Запчасти John Deere 0 195 - BUCKET CYLINDER COMPONENTS AND OIL LINES 3360 Hydraulic System

Схема запчастей John Deere 0 - 195 - BUCKET CYLINDER COMPONENTS AND OIL LINES 3360 Hydraulic System
FIT
1:1
100%

Артикул

Название

Примечание

Количество

0

4390915

Hydraulic Cylinder

SUB FOR AT250786, INCLUDES CYLINDER BUSHINGS AND SEALS

1шт.

1

4334428

Bushing

SUB FOR AT250607 OR TH0827003

1шт.

2

4374602

Bushing

SUB FOR AT250642

1шт.

3

AT318033

Seal

SUB FOR 4117955, TH106007

2шт.

4

4117954

Seal

SUB FOR TH106006

2шт.

5

0225804

Snap Ring

SUB FOR TH105785

1шт.

6

AT264384

Ring

SUB FOR TH105792, 0225812

1шт.

7

AT264382

Seal

SUB FOR TH105790, 0225810)

1шт.

8

AT264383

Back-Up Ring

SUB FOR TH105791, 0225811

1шт.

9

AT264381

Seal

SUB FOR TH105789, 0225809, 0453517

1шт.

10

CH17160

Packing

1шт.

11

AT264285

Sealing Ring

SUB FOR AT200293, 0453508

1шт.

12

AT264419

O-Ring

SUB FOR U46456, A810085

1шт.

13

0715003

Piston

SUB FOR AT250561

1шт.

14

AT264286

Ring

SUB FOR AT200295, 0453510

1шт.

15

AT264287

Ring

SUB FOR AT200296, 0453511, 4S00150

2шт.

16

0380707

Shim

SUB FOR AT200155

1шт.

17

22M7139

Set Screw

M10 X 10

1шт.

18

400R

Ball

1шт.

19

JD7781

Lubrication Fitting

1шт.

20

TH100074

Lubrication Fitting

1шт.

21

0714804

Elbow Fitting

SUB FOR AT250549

1шт.

22

0715004

Oil Line

SUB FOR AT250562

1шт.

23

0715005

Oil Line

SUB FOR AT250563

1шт.

24

0714807

Screw

SUB FOR AT250552

2шт.

25

0714808

Washer

SUB FOR AT250553

2шт.

28

O-Ring

SUB FOR TH103574, 4509181, SUB 0976602, AT264354 NSEP

1шт.

31

0715001

Hydraulic Cylinder Barrel

SUB FOR AT250559

1шт.

32

0715002

Rod

SUB FOR AT250560

1шт.

33

0453506

Hydr. Cylinder Rod Guide

SUB FOR AT200291

1шт.

34

AT264284

Bushing

SUB FOR AT200292, 0453507

1шт.

35

Seal Kit

SUB FOR AT200550, 4306446, AT264436 NLA

1шт.

36

4369716

Seal Kit

INCLUDES AT264384, AT264382, AT264 383, AT264381, CH17160, AT264285, A T264419, AT264286, NOT ILLUSTRATED

1шт.

Выбрано товаров: 33