Запчасти John Deere 0 202 - Blade Control Valve Components 3360 Hydraulic System

Схема запчастей John Deere 0 - 202 - Blade Control Valve Components 3360 Hydraulic System
FIT
1:1
100%

Артикул

Название

Примечание

Количество

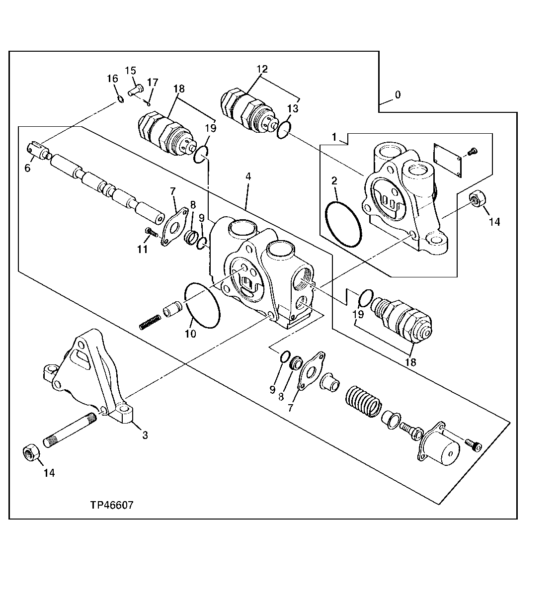
0

4350437

Hyd Actuated Control Valve

Blade (SUB FOR AT171945)

1шт.

1

Section

Inlet

1шт.

2

CH17260

Packing

1шт.

3

0295601

Flow Control Hyd. Valve

(SUB FOR TH106884)

1шт.

4

Section

Spool

1шт.

6

0219003

Yoke

(SUB FOR TH106886)

1шт.

7

0219008

Plate

(SUB FOR TH106889)

2шт.

8

0219011

Seal

(SUB FOR TH106891)

2шт.

9

CH10568

Packing

2шт.

10

CH17260

Packing

1шт.

11

21M7278

Screw

M5 X 10

2шт.

12

Relief Valve

1шт.

13

R26906

O-Ring

19.177 X 2.464 mm (0.755" X 0.097")

1шт.

14

14M7273

Nut

M8

6шт.

15

0295608

Pin

(SUB FOR TH108148)

1шт.

16

24M7043

Washer

12 X 25 X 3 mm (SUB FO R TH108149 OR 0295609)

1шт.

17

11M7075

Cotter Pin

1.200 X 12 mm

1шт.

18

Relief Valve

2шт.

19

R26906

O-Ring

19.177 X 2.464 mm (0.755" X 0.097")

1шт.

Выбрано товаров: 19