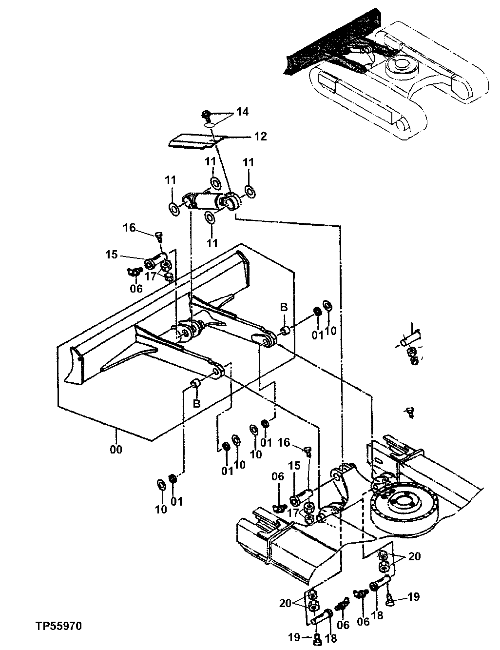
Запчасти John Deere 0 205 - Blade and Mounting 3401 Blade

Схема запчастей John Deere 0 - 205 - Blade and Mounting 3401 Blade
FIT
1:1
100%

Артикул

Название

Примечание

Количество

0

8067736

Blade

(SUB FOR AP36087)

1шт.

0B

4353818

Bushing

(SUB FOR P65881)

2шт.

1

4246939

Seal

(SUB FOR AT200418)

4шт.

6

T116334

Lubrication Fitting

4шт.

10

P65745

Plate

4шт.

11

4366692R

Thrust Washer

(SUB FOR AT214030 OR 4366692)

4шт.

12

4387697

Cover

(SUB FOR P65880)

1шт.

14

19M7938

Cap Screw

M10 X 20

2шт.

12M7066

Lock Washer

10 mm

2шт.

15

4387282

Pin

(SUB FOR P65879)

2шт.

16

4106307

Pin

20 X 92 mm (0.787" X 3. 622") (SUB FOR TH104411)

2шт.

19M7907

Screw

M20 X 140

2шт.

17

4098716

Ring

(SUB FOR TH103631)

2шт.

14M7277

Nut

M20

4шт.

18

4387279

Pin

(SUB FOR P65878)

2шт.

19

4065689

Pin Fastener

17.500 X 81 mm (0.689" X 3.189") (SUB FOR TH100625)

2шт.

19M8351

Cap Screw

M16 X 125 (SUB FOR 19M7941)

2шт.

20

4065688

Retainer

(SUB FOR TH100624)

2шт.

14M7276

Nut

M16

4шт.

Выбрано товаров: 19