Запчасти John Deere 0 24 - Crankshaft, Flywheel and Piston 0401 Crankshaft And Main Bearing

Схема запчастей John Deere 0 - 24 - Crankshaft, Flywheel and Piston 0401 Crankshaft And Main Bearing
FIT
1:1
100%

Артикул

Название

Примечание

Количество

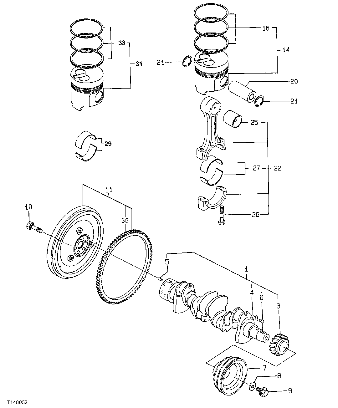
1

AT211731

Crankshaft

1шт.

3

AT211734

Gear

1шт.

4

CH16793

Pin

1шт.

5

CH16730

Pin

1шт.

6

M801045

Shaft Key

1шт.

7

AT211884

Pulley

1шт.

8

AT211735

Washer

1шт.

9

CH16798

Bolt

1шт.

10

CH16791

Bolt

6шт.

11

AT211886

Flywheel

1шт.

14

AT211740

Piston

4шт.

16

AT211742

Piston Ring

4шт.

20

AT211746

Piston Pin

4шт.

21

CH14432

Ring

8шт.

22

MIA881093

Connecting Rod

(SUB FOR AT211747)

4шт.

25

MIU801252

Bushing

(SUB FOR AT211840)

4шт.

26

AT211751

Screw

8шт.

27

MIA880564

Bearing

(SUB FOR AT211752)

4шт.

29

MIA880569

Bearing

(SUB FOR AT211841) (UNDERSIZE)

4шт.

31

AT211842

Piston

(OVERSIZE)

4шт.

33

AT211843

Ring

(OVERSIZE)

4шт.

35

AT212055

Flywheel

1шт.

Выбрано товаров: 22