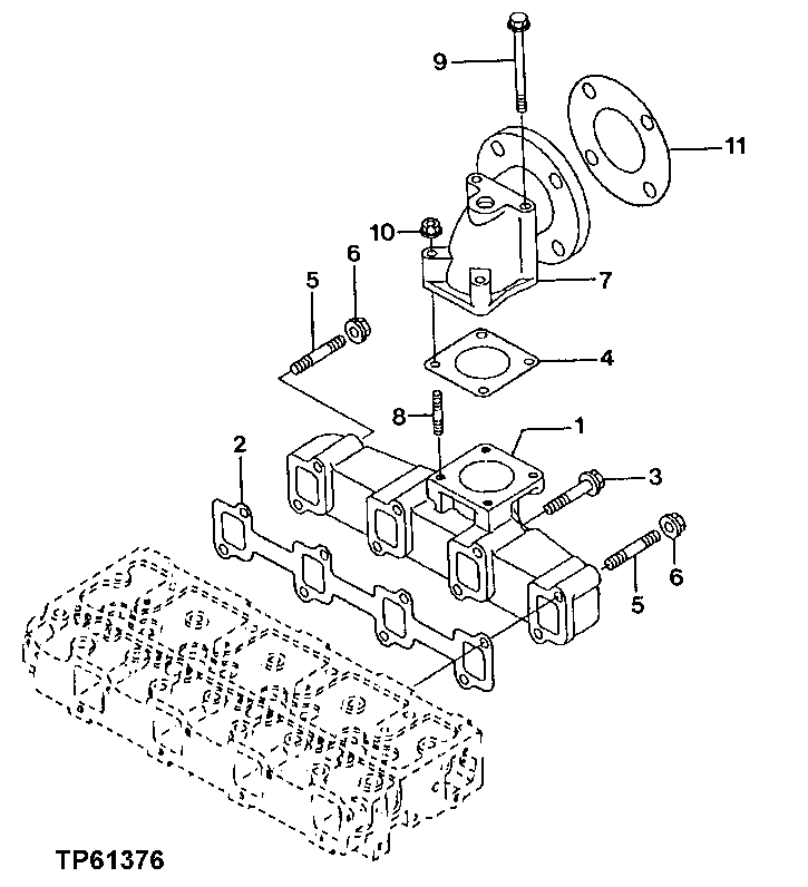
Запчасти John Deere 0 31 - Exhaust Manifold and Gasket 0410 Exhaust Manifold

Схема запчастей John Deere 0 - 31 - Exhaust Manifold and Gasket 0410 Exhaust Manifold
FIT
1:1
100%

Артикул

Название

Примечание

Количество

1

AT211880

Exhaust Manifold

1шт.

2

AT211881

Gasket

1шт.

3

M87885

Bolt

6шт.

4

M805838

Gasket

1шт.

5

CH12909

Stud

2шт.

6

14M7298

Flange Nut

M8

2шт.

7

AT211882

Pipe Elbow

1шт.

8

Stud

2шт.

9

M802597

Bolt

2шт.

10

14M7298

Flange Nut

M8

2шт.

11

AT211915

Gasket

1шт.

Выбрано товаров: 11