Запчасти John Deere 0 45 - Engine Coolant Overflow Tank 0510 Engine Cooling Systems

Схема запчастей John Deere 0 - 45 - Engine Coolant Overflow Tank 0510 Engine Cooling Systems
FIT
1:1
100%

Артикул

Название

Примечание

Количество

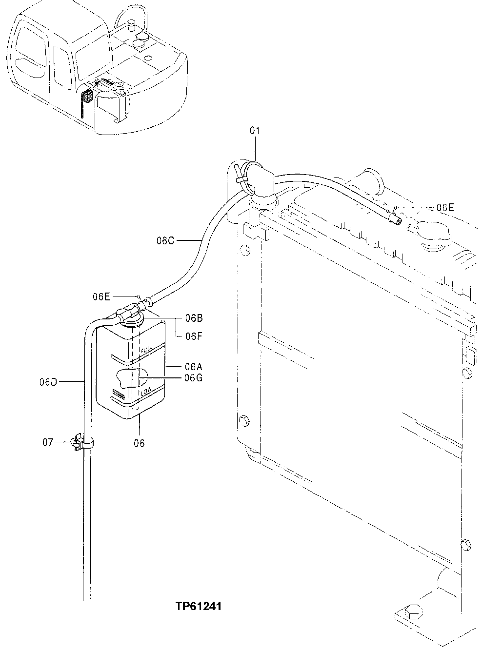
1

H77698

Tie Band

1шт.

6

Tank

4394004 NLA, SUB FOR AP35957 Includes C omponents 6A Through 6G Order Components

1шт.

6A

4397682

Tank

1шт.

6B

4397683

Cap

(SUB FOR AT250723)

1шт.

6C

Hose

( AT250724 NSEP) (CUT TO LENG TH FROM T79477 ) Bulk Material

1шт.

6D

Hose

AT250725 NSEP) (CUT TO LENGTH FROM T79477) Bulk Material Vinyl

1шт.

6E

L112347

Clamp

(SUB FOR AT250726 , 4397686, 4508575

2шт.

6F

4398054

Seal

(SUB FOR AT250727)

1шт.

6G

4398055

Hose

(SUB FOR AT250728)

1шт.

7

4254600

Clip

(SUB FOR AT154928)

1шт.

Выбрано товаров: 10