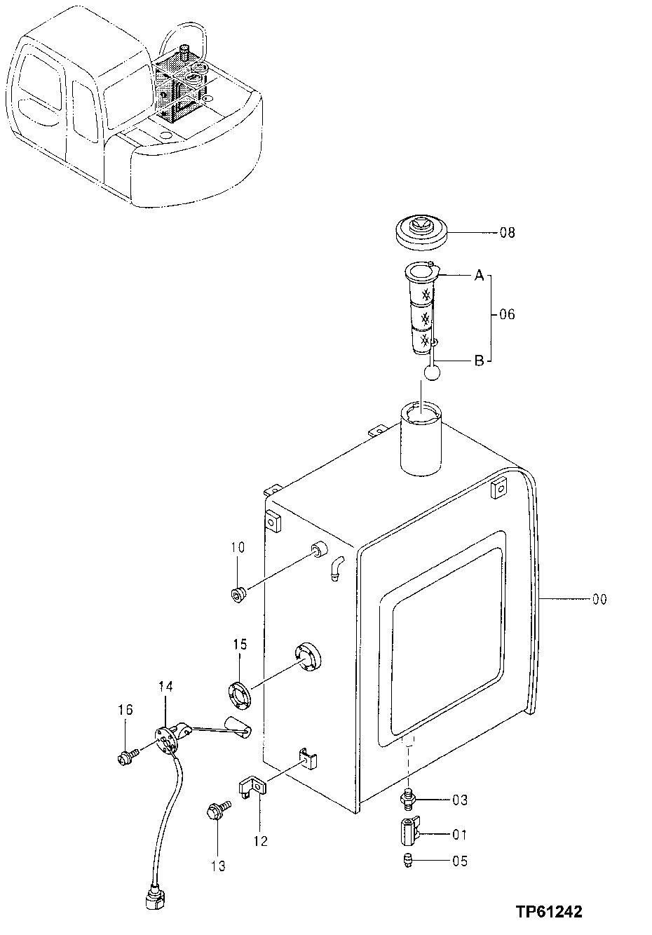
Запчасти John Deere 0 52 - Fuel Tank, Fuel Tank Filler Cap and Fuel Gauge Sender Unit ( - 099999) 0560 External Fuel Supply Systems

Схема запчастей John Deere 0 - 52 - Fuel Tank, Fuel Tank Filler Cap and Fuel Gauge Sender Unit ( - 099999) 0560 External Fuel Supply Systems
FIT
1:1
100%

Артикул

Название

Примечание

Количество

0

9153675

Fuel Tank

(SUB FOR 6016066)

1шт.

1

4374265

Drain Valve

(SUB FOR AT177419)

1шт.

3

T116057

Fitting

1шт.

5

942011

Fitting Plug

(SUB FOR 94-2011 AND TH100434)

1шт.

6

4353560

Strainer

(SUB FOR AT213970)

1шт.

6A

4121496

Fuel Filter

(SUB FOR AT215971 ) (SUB FOR TH100509)

1шт.

6B

Float

( AT215972 NSEP)

1шт.

8

AT321249

Filler Cap

(SUB FOR AT175989 OR 4361638) (KE Y LOCKABLE) (ORDER KEY SEPARATELY)

1шт.

AT194969

Key

(SUB FOR AT147803) (NOT ILLUSTRATED)

1шт.

AT323462

Filler Cap

(SUB FOR AT175989 OR 4361638) (CAN BE LO CKED WITH PADLOCK) (PADLOCK NOT INCLUDED)

1шт.

10

94-2013

Fitting Plug

(SUB FOR TH100648)

1шт.

12

4257159

Bracket

(SUB FOR AT154243)

1шт.

13

19M8324

Cap Screw

M10 X 16

1шт.

12M7058

Lock Washer

12 mm (SUB FOR 12M7067)

1шт.

14

4660782

Float

(SUB FOR AT154239 OR 4257128)

1шт.

15

T211051

Gasket

(SUB FOR U42323)

1шт.

16

21M7278

Screw

M5 X 10

5шт.

Выбрано товаров: 17